Механизм воздействия алкоголя

Бездумно подставляя

Свой мозг под разрушенье

“Свободу” получая

Продуктами броженья…

Мы растворяем в спирте

Частички организма,

Как будто в этой жизни

Они нам вовсе лишние.

Н.А.

Нет в человеческом организме ни одного органа, который бы не разрушался алкоголем. Но самые сильные изменения и в самую первую очередь наступают в человеческом головном мозге. Именно там этот яд имеет свойство накапливаться. После приёма кружки пива, стакана вина, 100 граммов водки — содержащийся в них спирт всасывается в кровь, с кровотоком идёт в мозг и у человека начинается процесс интенсивного разрушения коры головного мозга.

Механизм разрушения очень простой. Его наглядно демонстрирует один пример. В 1961 году трое американских учёных-физиков Найсли, Москоу и Пеннингтон рассматривали в изготовленный ими длиннофокусный микроскоп человеческий глаз. Они через зрачок сфокусировались на мельчайших сосудах сетчатки глаза, сбоку дали подсветку, и физикам впервые в истории науки удалось заглянуть внутрь сосуда человека и увидеть, как по сосуду течёт кровь[13].

Что же увидели физики? Они увидели стенки сосуда, увидели лейкоциты (белые кровяные тельца) и эритроциты (красные кровяные тельца,которые переносят кислород от лёгких к тканям, а углекислый газ — в обратном направлении)[14]. По сосудам текла кровь, всё снимали на плёнку. В один из дней физики посадили к микроскопу очередного клиента, глянули ему в глаз и ахнули. У человека по сосуду гуляли тромбы: сгустки, склейки эритроцитов. Причём в этих склейках они насчитывали по 5, 10, 40, 400, до 1000 штук эритроцитов. Они их образно назвали виноградные гроздья. Физики перепугались, а человек сидит и вроде ничего. У второго третьего нормально, а у четвёртого опять тромбы. Начали выяснять и выяснили: эти двое накануне пили.

Тут же физики совершили варварский эксперимент. Трезвому человеку, у которого в сосудах было всё нормально, дали выпить кружку пива. Через 15 минут в крови бывшего трезвого человека появились алкогольные склейки эритроцитов.

Физики решили, что они совершили величайшее научное открытие — напрямую доказали, что алкоголь сворачивает кровь (является тромбообразующим средством) в сосудах человека, а не только в пробирке, как было известно из опыта. Этот опыт, который раньше показывали в школе в 9 классе на уроках биологии, заключается в следующем. В пробирку наливается вода и в неё капается несколько капель крови. На фоне лампы вода окрашивается в ярко оранжевый цвет. Тут же в эту пробирку капается несколько капель водки и прямо на глазах кровь сворачивается хлопьями. Итак, как оказалось, не только в пробирке, но и в сосудах алкоголь сворачивает кровь.

На всякий случай физики обратились к медицинской энциклопедии и с изумлением обнаружили, что медицина уже 300 лет диагностирует алкоголь, как наркотический нейротропный и протоплазматический[15]яд, то есть яд, воздействующий и на нервную систему, и на все органы человека; яд, разрушающий их структуру на клеточном и молекулярном уровнях.

Как известно, спирт — это хороший растворитель. Как растворитель он широко применяется в промышленности при изготовлении лаков, политур, в ряде химических производств для синтеза красок, синтетического каучука и прочего. Он растворяет всё: и жир, и грязь, и краску... Поэтому спирт в технике применяют для обезжиривания поверхности. Но ведь попав в кровь, спирт и там себя ведёт также, как растворитель!

Что происходит, когда алкоголь (всегда содержащий спирт) попадает через желудок и кишечник в кровь?

В обычном состоянии внешняя поверхность эритроцитов покрыта как бы тонким слоем смазки, которая при трении о стенки сосудов электризуется. Каждый из эритроцитов несёт на себе однополярный отрицательный заряд, а поэтому они имеют изначальное свойство отталкиваться друг от друга. Спиртосодержащая жидкость удаляет этот защитный слой и снимает электрическое напряжение. В результате эритроциты вместо того, чтобы отталкиваться, начинают слипаться.

При этом красные кровяные клетки приобретают новое свойство: они начинают слипаться друг с другом, образуя более крупные по размерам шарики. Процесс идёт в режиме снежных комков, размер которых нарастает с количеством выпитого. Диаметр капилляров в отдельных частях тела (мозг, сетчатка глаза) иногда настолько мал, что эритроциты буквально «протискиваются» по ним поодиночке, нередко раздвигая при этом стенки капилляров. Наименьший диаметр капилляра в 50 раз тоньше человеческого волоса и равен 8 микронам (0,008 мм), наименьший диаметр эритроцита — 7 микрон (0,007 мм). Поэтому ясно, что образование, содержащее несколько эритроцитов, не способно двигаться по капиллярам. Двигаясь по ветвящимся артериям, а затем по артериолам всё меньшего калибра, он достигает в конце концов артериолы, имеющей диаметр, меньший диаметра сгустка, и перекрывает её, полностью прекращая кровоток в ней, следовательно кровоснабжение отдельных групп нейронов головного мозга[16] прекращается. Сгустки имеют неправильную форму и содержат в среднем 200 – 500 эритроцитов, средний их размер равен 60 микрон. Встречаются отдельные сгустки, содержащие тысячи эритроцитов. Разумеется, тромбы таких размеров перекрывают артериолы не самого мелкого калибра.

Одним из следствий прекращения движения эритроцитов по микрокапиллярам является то, что кислород прекращает поступать к клеткам головного мозга[17], начинается гипоксия, то есть кислородное голодание (кислородная недостаточность). Именно гипоксия и воспринимается человеком как якобы безобидное состояние опьянения. И это приводит к «онемению», а потом и отмиранию участков головного мозга. Всё это субъективно воспринимается выпившим алкоголь как «свобода» от внешнего мира, схожая с эйфорией освобождающегося из тюрьмы после долгой «отсидки». В действительности просто часть головного мозга искусственно отключается от восприятия зачастую «неприятной» информации извне.

Именно гипоксия является наиболее наглядным выявленным и доказанным специалистамимеханизмом имитации свободы, ощущение которой возникает в психике пьющих людей под воздействием алкоголя. Именно за этим ощущением свободы и тянутся все, кто выпивает. Но ведь ощущение свободы это не свобода, а опаснейшая иллюзия пьющего. Решив себя таким образом “освободить” от окружающих и от проблем, пьяный продолжает находиться в окружении людей и обстоятельств, переставая отдавать себе отчёт о своих действиях и мыслях.

Заметим, что «сон», наступающий в результате сильного опьянения, это не сон в обычном физиологическом смысле. Это — именно потеря сознания вследствие нейрохимических нарушений, вызванных в первую очередь алкогольной гипоксией мозга — алкогольная кома. Другими словами, во время кислородного голодания бодрствующий организм не может дышать и, чтобы облегчить дыхание (дабы человек не погиб), происходит защитная реакция организма — «сон», дабы снизить скорость обмена веществ в нём.

Для больших сосудов (в руке, в ноге) склейка эритроцитов на начальных стадиях принятия алкоголя особой опасности как бы не представляет. Разве, что у людей, долгие годы употребляющих алкоголь имеется характерный цвет лица и носа. У человека в носу очень много мелких сосудов, которые ветвятся. Когда к месту разветвления сосуда подходит алкогольная склейка эритроцитов, то она его закупоривает, сосудик раздувается (аневризма[18]), отмирает и нос впоследствии приобретает сине-фиолетовый цвет, потому что сосуд уже не работает.

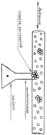
 В голове же у всех ситуация примерно одинаковая. Человеческий мозг состоит из 15 миллиардов нервных клеток (нейронов). Каждую нервную клеточку (нейрон, обозначается треугольником с точкой) в конечном счёте питает кровью свой микрокапилляр. Этот микрокапилляр настолько тоненький, что для нормального питания данного нейрона эритроциты могут протискиваться только в одни ряд.

Но когда к основанию микрокапилляра подходит алкогольная склейка эритроцитов, то она его закупоривает, проходит 7 — 9 минут и очередная мозговая клетка человека безвозвратно и навсегда погибает.

 После каждой так называемой «умеренной» выпивки у человека в голове появляется новое кладбище погибших нервных клеток нейронов. И когда врачи – патологоанатомы вскрывают череп любого так называемого умеренно пившего человека, то у всех видят одинаковую картину — сморщенный мозг, мозг меньший в объёме и вся поверхность коры головного мозга в микрорубцах, микроязвах, выпадах структур. Это всё участки мозга, разрушенные алкоголем.

Коварство алкоголя усиливается ещё и тем, что организм молодого человека обладает значительным, приблизительно 10-кратным запасом капилляров. То есть, в каждый момент функционирует лишь около 10% всех капилляров. Поэтому алкогольные нарушения кровеносной системы и их последствия проявляются в молодости не столь явно, как в более поздние годы.

Однако со временем «запас» капилляров постепенно исчерпывается, и последствия отравления алкоголем становятся всё более ощутимыми. При современном уровне употребления алкоголя «средний» в этом отношении мужчина «вдруг» сталкивается с самыми различными недугами в возрасте около 30 лет. Чаще всего — это болезни желудка, печени, сердечно-сосудистой системы. Неврозы, расстройства в половой сфере. Впрочем, болезни могут быть самыми неожиданными: ведь действие алкоголя универсально, он поражает все органы и системы человеческого организма. Некоторые учёные считают, что после 100 грамм водки навсегда отмирают не менее 8 тысяч активно работающих клеток, главным образом, половых клеток и клеток головного мозга.

Необратимая гибель нейронов в результате тромбоза и микроинсультов в коре головного мозга приводит к утрате части информации и к нарушениям кратковременной памяти.

В ПЕРВУЮ ОЧЕРЕДЬ ГИБНУТ КЛЕТКИ ГОЛОВНОГО МОЗГА, отвечающие за память, поэтому «слегка» перебравшие на следующее утро ничего не помнят. При этом затрудняются процессы переработки текущей информации, которые ведут к закреплению наиболее существенной её части в нейронных структурах, обеспечивающих долговременную память.

Когда же врачи вскрывают алкоголиков, погибших от алкогольных отравлений, то они удивляются не тому, как разрушен мозг, а тому, как с таким мозгом человек вообще мог продолжать жить.

Таким образом алкоголь это как бы и невидимое, но очень мощное оружие, направленное на то, чтобы лишить человека разума. А если пьёт целый народ, как наш народ загнали в эту пропасть пьянства, то это значит лишить разума и весь народ и превратить людей из людей разумных, творческих, мыслящих, нацеленных вперёд — в просто двуногое бездумное рабочее стадо.

Более 800 000 книг и аудиокниг! 📚

Получи 2 месяца Литрес Подписки в подарок и наслаждайся неограниченным чтением

ПОЛУЧИТЬ ПОДАРОК