Что стало ясно позднее?

Опять скажу: никто не обнимет необъятного!

К.Прутков

Поскольку “Мертвая вода” была написана в феврале — июне 1991 г., то в ней нашло свое выражение тогдашнее понимание авторским коллективом происходящего в стране и в Мире. Кроме того, “Мертвая вода” представляла собой так называемую «незави­си­мую экспертизу» отчета по теме научно-исследо­ва­тельской работы “Разработка концепции стратегической стабильности и динамики развития сценариев возможного взаимодействия при условии сохранения паритета перспективных стратегий мировых держав на период до 2005 года”, выполненной в Институте США и Канады АН СССР в 1990 г. По этим двум причинам проблематика, освещенная  в “Мертвой воде” в редакции 1991 г., в основном была определена проблематикой, уже затронутой в названном отчете Института США и Канады. И хотя к этой проблематике в процессе экспертизы кое-что было добавлено, но некоторые значимые вещи так и остались обойдены тогда молчанием. При подготовке настоящего издания было решено включить в текст эту главу, посвященную наиболее значимым умолчаниям в редакции 1991 года. Таких умолчаний два: 1) цивилизаторская миссия в истории нынешней глобальной цивилизации, обсуждать которую тогда не стали за недостатком времени, и 2) психологическая подоплека общественного устройства, о которой тогда было смутное представление.

К сожалению, в наши дни по отношению к Истории уместно употребление термина «исторический миф», поскольку никто из людей сам не помнит всей реально свершившейся истории человечества, а современное нам общество безграмотно, чтобы безошибочно читать разнородные памятники и знаки прошлого, хотя бы так, как мы читаем книги наших времен. И соответственно, История прошлого нам известна по устным преданиям, письменным хроникам, по интерпретациям данных археологических, палеонтологических раскопок и геологических исследований в соответствии с уже сложившимися представлениями.

Так как далеко не все события, оказавшие воздействие на последующее течение истории, стали в прошлом предметом внимания и понимания их значимости современниками, то не всё исторически значимое запомнилось в устных преданиях и не всё отражено в письменных хрониках, не всё стало достоянием археологии, и не всё, так или иначе известное, правильно интерпретировано.

Мы действительно живем на основе спектра исторических мифов, и каждая историческая школа придерживается своего исторического мифа, холит его и лелеет[99], пропагандирует в качестве единственно истинного. Господствующие исторические мифы меняются в ходе самого исторического процесса, причем, как в случае СССР и нынешней России, даже не один раз при жизни одного поколения.

Исторические мифы умышленно фальсифицируются по отношению к реально имевшим место событиям, и, если миф становится господствующим, то факт его фальсификации со временем забывается. И в наши дни один из актуальнейших вопросов исторической науки состоит в том: Который из множества различимых исторических мифов ближе к реально свершившейся истории и как в совокупности исторических мифов выявить истинный образ свершившейся истории.

Согласно господствующему историческому мифу нынешнее человечество родилось в животном мире, вышло в каменный век, первые региональные цивилизации возникли около 5 — 7 тыс. лет тому назад, около 3 тыс. лет тому назад началась письменная история. И благодаря письменной истории мы всё более или менее хорошо можем узнать о прошлом региональных и глобальной цивилизаций, начиная примерно с середины первого тысячелетия до нашей эры.

В последние годы появились попытки заменить этот исторический миф хронологически более короткой версией якобы достоверно известной истории. В частности, в работах математиков МГУ А.Т.Фоменко и Г.В.Носовского на основе статистического анализа сообщений хроник утверждается, что хроники большей частью достоверны, начиная с XI — XII веков нашей эры, а вся более древняя история представляет собой многократно смещенную в прошлое историю средних веков, в которой средневековые реальные люди действуют под другими прозвищами и в измененной географической локализации средневековых же реальных событий[100].

Но дело в том, что есть факты, которые не лезут ни в тот, ни в другой исторический мифы. Чтобы разрушить миф, в него достаточно вставить всего один факт, который он не сможет объяснить. В частности в раннем средневековье существовали карты, на которых была изображена Антарктида, берега Северной и Южной Америки. Причем Антарктида была изображена без ледяного панциря, в каком виде она никогда не была на памяти нынешней цивилизации согласно её официальной истории.

Нынешняя же цивилизация приступила к глобальной картографической съемке только спустя несколько столетий после появления этих карт в эпоху великих географических открытий (с 1519 г., если считать от начала первого кругосветного плавания Ф.Магелана). Глобальная картографическая съемка продолжительностью в четыре столетия была ею завершена в основном только в 1906 г., когда Р.Амундсен прошел из Атлантики в Тихий океан через проливы в архипелагах севера Канады; а полностью была завершена только в 1970-е гг. с окончанием программы систематических съемок поверхности Земли с орбиты.

Вопреки этому действительно достоверно известному на средневековых картах береговые линии Антарктиды, обеих Америк, Европы и Африки на большом протяжении изображены с ошибкой по долготе, которую уровень развития хронометрии[101] и математики[102] в нынешней цивилизации обеспечивает только начиная с 80-х годов XVIII века н.э.

Египетский Сфинкс у пирамиды Хеопса датируется историками традиционалистами вместе с самими пирамидами возрастом не более пяти тысяч лет. Его плохой вид историки объясняют ветровой эрозией: дули ветры, несли песок, песок и выветривание выскоблили часть материала и т.п. Когда же осмотром Сфинкса занялся профессиональный геолог, то он пришел к выводу, что Сфинкса длительное время поливали ливневые дожди и он поврежден водной эрозией, вызванной атмосферными осадками... однако в нынешней цивилизации Сфинкс стоит в одном из самых сухих мест планеты, где редкие дожди не могли вызвать водную эрозию, оставляющую глубокие вертикальные борозды и волнистые горизонтальные канавки, в то время как выветривание и ветровая эрозия оставляют исключительно горизонтальные следы с острыми краями, образуя при этом причудливые формы: скалы-грибы, скалы-зонтики, скалы фигуры и т.п. Если же считать, что Сфинкс — образ человека эпохи созвездия Льва[103], то Сфинкс — культурный памятник эпохи, когда в месте его расположения был иной климат с обильными дождями. Он — произведение глобальной цивилизации, предшествовавшей нашей и сгинувшей в некой глобальной геофизической либо астрофизической (согласно некоторым мифам Луны и Венеры не было на древнем небосводе) катастрофе, только по завершении которой началось становление и развитие нынешней глобальной цивилизации.

На происшедшую в прошлом глобальную катастрофу, в частности, указывают и обелиски Египта. Многие из них использовались в качестве солнечных часов. При этом шкалы этих хронометров таковы, что продолжительность утренних, полуденных, предзакатных “часов” не одинакова, что вызывает изумление тех, кто сталкивается с этим фактом. Но если бы Египет находился на широте 15о (реально он расположен примерно между 25о и 30о сев. широты), то существующие шкалы солнечных хронометров Египта обеспечивали бы равенство — равномерность — всех часов в сутках.

И залежи мамонтов в вечной мерзлоте перемешаны с более южной растительностью, чем та, что произрастает ныне в этих широтах; мгновенно погибшие в большом количестве животные в сочетаниях, не встречающихся в обычной жизни биоценозов (хищники и травоядные в большом количестве вместе, да к тому же вперемешку с поломанными деревьями) были в некоторых местах засыпаны слоями вулканического пепла или залиты грязью, после чего быстро заморожены прежде, чем их разорванные[104] либо целые трупы начали разлагаться. Кроме того: «по всей Южной Америке обнаружены ископаемые останки времен Ледникового периода, “в которых скелеты несовместимых видов животных (хищников и травоядных) беспорядочно перемешаны с человеческими костями. Не менее важным является сочетание (на достаточно протяженных площадях) ископаемых сухопутных и морских животных, беспорядочно перемешанных, но погребенных в одном геологическом горизонте”».[105]

Те, кто сопоставляет такого рода факты, имеющие географическую локализацию «по всей планете», приходят ко мнению, что прошлая глобальная цивилизация погибла в результате глобальной катастрофы, имевшей место по разным оценкам от 10000 до 13000 лет тому назад, в ходе которой гигантские приливные и волны или цунами высотой до километра прокатились через материки, смыли леса, убили людей, мамонтов и кашалотов, перемешав их останки. Тогда же произошло и смещение полюсов, что сопровождалось глобальной тектонической активностью, множественными извержениями вулканов и т.п. В результате этой катастрофы Египет сместился к северу, а его солнечные хронометры утратили равномерность шкал. Антарктида сместилась к югу в зону полярного оледенения точно также, как сместились в северном полушарии в зону полярного оледенения и районы нынешней вечной мерзлоты в Сибири, в Канаде, на Аляске[106].

От глобальной картографической съемки, выполненной той погибшей цивилизацией, к нашей цивилизации перешли какие-то уцелевшие материалы, которые и легли в основу средневековых карт с неуместной для них Антарктидой и Америками, будь достоверным господствующий исторический миф о подъеме нынешней цивилизации с нулевого уровня развития культуры до нынешних высот.

Образ предшествовавшей глобальной цивилизации можно восстановить только по мифам и сокровенным учениям, не предназначенным для целенаправленной пропаганды в толпе, и передающимся издревле в нынешней цивилизации среди допущенных и заинтересованных лиц, хотя в некоторые эпохи эту специфическую информацию представляют и толпе в качестве разного рода курьезов. Это всё в совокупности с ныне господствующим историческим мифом означает, что каменный век, как то показывает археология, был. Но не все уцелевшие в предшествовавшей ему глобальной катастрофе одичали до уровня каменного века. Кроме того, согласно одной из реконструкций образа прошлой глобальной цивилизации на основе мифов, они жили не так, как мы...

«Раса господ» была относительно немногочисленной и обитала только на одном из материков с наиболее приятным климатом. Вне этого материка были только её опорные пункты для управления хозяйственной деятельностью обслуживающих её подневольных народов, которые были лишены возможности вести производственную и иную деятельность на основе техногенной энергии. Это обеспечивало высокий потребительский уровень «расы господ» при относительно благополучной экологии планеты в целом. Т.е. нынешние поползновения к разделению населения планеты на “золотой миллиард” и обслуживающее его “рабочее быдло”  имеют в своей основе давнюю глубинно психическую подоплёку.

Одна из такого рода реконструкций утверждает, что экземпляры особей «расы господ», если и не обладали телесным бессмертием, то воспринимались в качестве бессмертных всем остальным населением планеты, поскольку многократно превосходили подневольных им по продолжительности жизни: это и дало почву для легенд о богах и полубогах, некогда живших среди людей. Не исключено, что они употребляли и генную инженерию в отношении подневольных, обратив тех фактически в биороботов, чьи способности к творческому саморазвитию были искусственно и целенаправленно ограничены[107]. Последнее, как известно, в нынешней глобальной цивилизации, особенно в Западной её составляющей, является пределом мечтаний многих представителей правящей “элиты”. Фильм “Мертвый сезон” — только одно из художественных отображений научных исследований, реально проводимых в направлении создания методами науки расы “господ” и множества рас её обслуживающих саморазмножающихся функционально специализированных, программируемых и дистанционно (техногенно и экстрасенсорно) управляемых биомеханизмов.

Так или иначе, стремление установить в глобальных масштабах нечто подобное такого рода расово-“элитарным” реконструкциям жизни Атлантиды, прослеживается на протяжении всей истории нынешней цивилизации. И прослеживается оно тем более ярко, чем большего достигают наука и технологии нынешней цивилизации. Однако, в нынешней глобальной цивилизации обнаженное владение «господ» «говорящими орудиями» и открытое разделение общество на «господ» и «рабочее быдло», свойственное изначальным региональным цивилизациям, не смогло устояться.

Не исключено, что атлантическая «раса господ» в прошлой глобальной цивилизации, безраздельно контролировала не всю планету, но были регионы, сохранившие самостоятельность своего управления. В них в ходе глобальной катастрофы тоже не все погибли. Возможно, что это и лежит в основе резкого отличия культуры при-Тихоокеанского Востока и культуры вокруг-Атлантического Запада в нынешней глобальной цивилизации.

Тем не менее, даже если оставить в стороне особенности жизни прошлой глобальной цивилизации, то неоспоримо главное, от чего отводит внимание ныне господствующий исторический миф:

Параллельно каменному веку нынешней глобальной цивилизации развивалась цивилизаторская миссия уцелевших выходцев из прошлой цивилизации.

Кроме того, катастрофа могла быть и не внезапной, вследствие чего те, кто отнесся к прогнозам о её возможности серьезно, заранее позаботились, чтобы уцелеть в ней и сохранить культурное наследие для последующего возобновления нормальной по их понятиям жизни. Если же к прогнозам отнеслись серьезно и правящие слои, то были предприняты государственно организованные усилия для того, чтобы обеспечить ускоренное восстановление нормального (в их понимании) образа жизни после завершения катастрофы.

Библейские и коранические сообщения о Ноевом ковчеге, представляют по существу сообщения о целесообразной реакции на такого рода предостерегающие прогнозы. Следует также иметь в виду, что и библейские, и коранические сообщения о ковчеге едины в том, что ковчег — произведение оппозиции правящему режиму прошлой цивилизации. Прошлая цивилизация была целенаправленно уничтожена Свыше за необратимо извращенные в ней нравственность и этику, поскольку её правящая “элита”, в которой возобладал демонический строй психики, добилась безраздельной внутрисоциальной власти, устойчивой в преемственности поколений.

В нашей цивилизации всегда вставал вопрос, насколько достоверны сообщения о Ноевом ковчеге, хотя бы потому, что своими размерами, которые приведены в Библии (Бытие, 6:15: длина 300 локтей; ширина 50 локтей; высота 30 локтей; примерно 150, 25 и 15 метров — это больше, чем главные размерения крейсера “Аврора”), ковчег превосходит все деревянные суда, построенные в нынешней цивилизации по настоящее время включительно, а металлические суда большего размера нынешняя цивилизация начала строить только во второй половине XIX века.

В последние несколько лет в прессе многократно появлялись сообщения, что ковчег найден на горе Арарат, как и написано в Библии о месте завершения его плавания. Последний обзор сообщений по теме этой находки опубликован в “Комсомольской правде” (толстушке) 20 февраля 1998 г.

Приводятся свидетельства одного турка, которого его дед водил в горы к «святому кораблю» еще в 1905 г. Сообщается о том, что во время первой мировой войны ХХ века русский летчик Росковицкий, совершая полет в районе Арарата, на берегу горного озера обнаружил полузатопленный корпус корабля. «С одной стороны его корпус был частично разобран, а на борту зияла квадратная дверь шириной около  шести метров. Это показалось мне необычным, ведь даже сейчас корабли не имеют таких больших дверей[108]» (цитата из интервью Росковицкого, данного им в 1939 г. журналу “Нью Эден Магазин”, приведенная “Комсомольской правдой”).

Как сообщается далее, Россией была организована экспедиция к ковчегу (Арарат в то время находился на территории, подвластной Российской империи), которая произвела фотографирование и обмеры ковчега, взяла образцы его материалов. Но по возвращении экспедиции в Петроград, уже революционный, «по некоторым сведениям» всё попало в ведение Л.Д.Троцкого и по его приказу члены экспедиции и её материалы были уничтожены.

После этого о ковчеге забыли до тех пор, пока он не был вторично обнаружен уже вросшим в ледник в ходе аэрофотосъемок ВВС Турции в 1959 г. После этого к ковчегу было направлено несколько экспедиций, в том числе и нелегальных. Найденные ими некоторые материалы были экспонированы в Нью-Йорке в 1985 г., что вызвало протест Турции по поводу нарушения её законов о культурных ценностях.

Кроме того некий объект на склоне Арарата был обнаружен и космической разведкой США. Когда слухи об этом просочились в общество и один из американских исследователей, ссылаясь на Закон о свободе информации, запросил эти фотографии, то ему министерство обороны предоставило другие фотографии, полученные при аэрофотосъемке ВВС США в 1949 г. — на десять лет ранее материалов турецких аэрофотосъемок. Все материалы по этой теме, как сообщается, оседают в архивах ЦРУ, официальные же лица Турции хранят молчание.

Хотя такого рода сообщения средств массовой информации о ковчеге и не вносят ясности в этот вопрос в виду отсутствия в публикациях фотографий, сделанных экспедициями и средствами воздушной и космической разведки, тем не менее они присутствуют в потоке информации, на основе которой формируется общественное мнение.

На основании того, что известно в истории нынешней цивилизации, мы всё же придерживаемся взгляда, что прошлая глобальная цивилизация была не обществом всеобщего равенства и всеобщей Любви. Она была цивилизацией генетически различных рас. И по крайней мере в той её части, на развалинах которой возник современный Запад, было разделение на расу «господ» и расы обслуживающих «господ» «говорящих орудий».

Это всё нашло свое разнообразное продолжение в истории нынешней глобальной цивилизации и многое объясняет в ней, а в особенности — в истории региональной цивилизации, ныне называемой Западом, на ранних этапах её развития:

· кастовое деление в древности в одних регионах — выражало стремление потомков «господ», осуществлявших цивилизаторскую миссию, сохранить в преемственности поколений генетически чистые линии и исключить свое “вырождение” при скрещивании с потомками бывших «говорящих орудий».

· браки братьев и сестер, родителей и детей в жреческих и царских династиях в других регионах имели ту же цель — сохранить генетически чистые линии «господ» в преемственности поколений от привнесения в них генетического материала «говорящих орудий».

· с другой стороны, право первой ночи и половой распущенности самцов «господ» в отношении самок «говорящих орудий» должно было расширить возможности цивилизаторов за счет некоторого “улучшения породы” цивилизуемых в преемственности поколений при осуществлении естественного и искусственного отбора.

· С этими же тайнами “крови” связан и запрет на исследования в области генетики, навязанный СССР во времена И.В.Сталина. Поскольку чисто сионистское интернацистское развитие революции по Марксу и Троцкому в России не удалось, то появление в стане противника весьма специфической информации о генетике населения, хозяева марксизма-троцкизма (наследники древнеатлантических цивилизаторов) посчитали целесообразным пресечь, тем более, что уже в 1925 г. в советской печати проскользнули публикации о возможности с 90 %-ной уверенностью определить по анализу крови, является ли индивид евреем либо же нет (почему интерес был проявлен к выявлению именно этого различия, не объяснялось, хотя именно такого рода селекция необходимо лежит в основе библейской расовой “элитарно”-невольничьей доктрины). Запрет на исследования в области генетики — своего рода аналог анекдота: «Штирлиц знал, что дважды два четыре, но он не знал, знает ли об этом Мюллер», однако в несколько иной форме: «Глобально властный “Никто”[109] знал, что есть в генетике свое “дважды два”, и не хотел, чтобы об этом узнали в регионе, ускользающем из под его безраздельного контроля».

· Возможно, что эти же генетические особенности, унаследованные от прошлой неправедной глобальной цивилизации, выражаются в том, что многократно подмечали многие организаторы коллективной деятельности в обществе. Об этом Генри Форд писал так:

«Подавляющее большинство желает оставаться там, где оно поставлено. ОНИ ЖЕЛАЮТ БЫТЬ РУКОВОДИМЫМИ, ЖЕЛАЮТ, ЧТОБЫ ВО ВСЕХ СЛУЧАЯХ ДРУГИЕ РЕШАЛИ ЗА НИХ И СНЯЛИ С НИХ ОТВЕТСТВЕННОСТЬ[110]. Поэтому главная трудность состоит не в том, чтобы найти заслуживающих повышения, а желающих получить его. <...>

... для большинства людей наказанием является необходимость мыслить. Идеальной представляется им работа, не предъявляющая никаких требований к творческому инстинкту[111] ».[112]

Отупляющее воздействие систематического школьного и вузовского образования, во многом не отличимого от дрессировки, натаскивающей на решение разного рода задач унаследованными от предков методами; образования, программирующего психику конкретными знаниями и навыками, но не обучающего людей сотворчествовать: т.е. чувствовать жизнь и осмыслять её самостоятельно, по мере необходимости порождая в себе и в культуре общества необходимые знания и навыки, конечно тоже может иметь такие последствия, о которых написал Г.Форд.

И хотя с системой образования сталкиваются если и не все без исключения, то большинство, однако, не всех оно отупляет. То обстоятельство, что не все выходят из школы и вузов выдрессированными для работы в какой-то области идиотами, реально может иметь и генетическую запрограммированность, унаследованную еще от прошлой глобальной цивилизации.

После становления около 7 — 5 тысяч лет тому назад центров региональных цивилизаций, весьма удаленных друг от друга, но имеющих много сходного и общего в сюжетах дошедших до нас мифов, повествующих об их становлении, началась их экспансия в сопредельные регионы. В результате этого, когда они стали граничить друг с другом, началась эпоха войн между региональными цивилизациями.

Вне зависимости от того, как цели этих войн понимали и объясняли владыки каждого из регионов, это были войны,имевшие объективной целью в дальней исторической перспективе построение единой глобальной цивилизации той региональной цивилизацией, которая победит в финале войн с прочими претендентами на то же самое.

 В ходе этой эпохи войн Египет раньше всех своих конкурентов за безраздельное мировое господство перешёл от войн «горячих» к войне «холодной» — информационной войне методом культурного сотрудничества с порабощаемыми им соседями, чья исторически сложившаяся культура при осуществлении культурного сотрудничества замещалась либо извращалась целенаправленно сконструированной агрессором культурой — библейской культурой в нашей исторической реальности. Как выражение этого способа ведения мировой войны, длящейся уже несколько тысяч лет, в результате усилий тамошних знахарей — наследников пирамид и знаний прошлой глобальной цивилизации — возникла ранее приведенная библейская доктрина скупки всего остального мира у глобально беззаботных и бездумных на основе ростовщичества. Сам Египет,как региональная цивилизация, почти умер в родах этой доктрины и пребывает в коматозном состоянии по настоящее время.

Чтобы осуществлять агрессию методом культурного сотрудничества необходим был самовоспроизводящийся инструмент, несущий искусственно и целенаправленно созданную культуру. По всей видимости собственную наблюдательность и усилия иерархи знахарей Египта подкрепили наследием Атлантиды из области генетических экспериментов, селекции и генной инженерии. Подручным «этнографическим материалом»[113], избранным для этой цели, оказались кочевые племена, ныне именуемые древнееврейскими, жившие в каменном веке[114] и залученные в плен египетский. Они стали храмовыми, а не государственными рабами и не рабами частных лиц: т.е. стали собственностью иерархии хранителей знаний и навыков, именуемой по-прежнему «жречеством» безо всяких к тому оснований в их последующей деятельности.

Потом, в ходе синайского “турпохода”, на основе этого «этнографического материала» была выведена особая порода людей — носителей библейской доктрины. Она исторически развилась в современное нам еврейство, вобрав в себя на протяжении веков и множество прозелитов (иноплеменников, принявших иудаизм, — подчас целые племена, как то было с хазарами).

И если ветхозаветно-талмудический иудаизм многократно утверждает, что «народы Земли» — суть животные в человеческом обличье, то это можно понимать как знак того, что хозяевам иудаизма издревле было известно о количественном преобладании в «народах Земли» животного строя психики в ранее определенном смысле этого термина (см. конец раздела 3.4 главы III). Но и назначенным Библией на должность расы “господ” гордиться тоже нечем: иерархия знахарей древнего Египта выводила исторически реальное еврейство точно также, как ныне выводят породы скота, наперед задавшись вполне определёнными требованиями. Для осуществления задуманного мирового проекта, еврейство в целом должно было удовлетворять двум основным тактико-техническим требованиям:

· чтобы в нём количественно преобладал строй психики биоробота автономного ибиоробота дистанционно управляемого средствами экстрасенсорики, в котором культурно обусловленные программы поведения подавляют инстинкты, что в массовой статистике должно обеспечить превосходство большинства индивидов-биороботов над индивидами носителями животного строя психики в процессах конфликтования достаточно большой продолжительности, в которых преобладающие при животном строе психики инстинктивные краткосрочные программы поведения утрачивают эффективность. В последствии достигнутый успех в этой области породил воззрение об особом интеллектуальном и культурном — сверхчеловеческом — превосходстве евреев над прочими.

· чтобы хозяева глобального проекта и их потомки могли скрыться в социальной среде этой расы “господ” после того, как проект будет развернут в международных масштабах, а народы, в которых количественно преобладает животный строй психики, окажутся управленчески зависимыми от “господ” на основе внедренной им библейской культуры. Возможно, что некоторым образом была обеспечена и генетическая несмешиваемость хозяев проекта с их еврейским коконом-биороботом. Во всяком случае газета “Новый Петербург”, 06.02.97 в статье “Все раввины от одного предка” сообщает следующее: «Группа исследователей из Израиля, Канады, Англии и США, проведя большую работу, опубликовала её результаты в журнале «Nature». Изучив наследственный материал раввинов в общинах евреев-ашкенази (Центральная и Восточная Европа) и сефардов (Южная Европа), они убедились, что все священники, даже издавна разделенных сообществ, действительно происходят от одного предка по мужской линии. Генетическая разница между священниками и их паствой в местной общине намного больше, чем разница между раввинами отдаленных друг от друга диаспор».

На протяжении всей последующей истории действительным хозяевам еврейства неоднократно приходилось выбраковывать множество особей,  генеалогических линий и почти целых стад биороботов для того, чтобы еврейство неизменно удовлетворяло высказанным только что двум важнейшим тактико-техническим требованиям к инструменту агрессии.

Последняя такого рода выбраковка евреев, “одичавших” с точки зрения их хозяев, была названа «холокостом»; она была вызвана стремлением множества евреев в Европе эмансипироваться в тех народах, среди которых они жили; то есть осознанным или бессознательным их стремлением стать такими же, как и все остальные люди.

Высказанное утверждение о цивилизаторской миссии и средствах её осуществления многим может показаться диким, но тем не менее, если обратиться к публикациям на темы загадок истории, к монографиям класса «Всемирная история», школьным и вузовским учебникам, написанным без каких-либо “дурацких шуток” на основе интерпретации данных археологии и уцелевших хроник, то можно увидеть весьма специфические особенности такого рода публикаций.

· Практически все без исключения мифы региональных цивилизаций древности говорят о том, что их возникновение обусловлено пришельцами из-за моря (или из космоса), просветителями, которые учили дикарей собирателей и охотников земледелию, ремеслам, основам государственного управления. Потом цивилизаторы либо умерли или были убиты, либо покинули своих подопечных; иногда в этом устранении пришельцев-цивилизаторов принимали участие злые “боги”, также стремившиеся осуществить цивилизаторскую миссию, став преемниками добрых “богов”, её начинавших.

· На протяжении всей истории многие мыслители выявляли глобальное надгосударственное управление на основе общеизвестных фактов, которые культивируемый исторический миф представляет как не связанные друг с другом беспричинные диковинки или совпадения случайностей, ни коим образом не влияющие на жизнь большинства: «Ну бред: Антарктида на карте XV века за три столетия до открытия её Ф.Ф.Беллинсгаузеном и М.П.Лазаревым, но тебе-то в ХХ какое до этой карты дело? — учиться, работать и тому подобное надо, а не ерундой заниматься». Такого рода факты выявления глобального управления зафиксированы в литературе нынешней цивилизации: от новозаветных сообщений о «князе мира сего», который распределяет власть над государствами, предложив её как-то раз и Христу[115]; до современных нам научных строго документированных монографий, таких как книга американского политолога Ральфа Эпперсона “Введение во взгляд на Историю как на Заговор” или откровений Рерихов о многовековой деятельности Мирового правительства (“Агни Йога”, Самара, изд. 1992 г., т. 1, с. 292 — “Знаки Агни Йоги”, п. 32).

· Культивируемый же исторический миф всякий раз выявленное глобальное надгосударственное управление, выражающееся в поддержании “элитарно”-невольничьих порядков, в прошлые века приписывал либо Богу, либо дьяволу, назначенному хозяевами мифа на должность «князя мира сего», а иные клеймил как шизофрению. При этом хозяева мифа тщательно убирали из учебной литературы по истории сообщения о такого рода фактах, как карты Пири Рейса, о древнеегипетских и прочих «исторических аномалиях», а также и информацию о деятельности орденов и прочих систем посвящения, осуществлявших надгосударственное управление в соответствии с их концепцией реставрации Атлантиды. Наиболее ярким примером последнего являются Ветхий и Новый заветы в их сложившихся исторически редакциях — в прошлом обязательное поучение для всех, — в котором “жречество” Египта и члены Синедриона представлены исключительно как частные лица, свободные в своем поведении и никоим образом не связанные по рукам и ногам дисциплиной иерархий систем посвящения и распределения власти, что противоречит реальной практике деятельности такого рода структур, очевидной и в наши дни по деятельности иерархии церквей и партий (например КПСС, КПРФ).

· Если обществу и предлагается “альтернатива” господствующему историческому мифу, то это нечто вроде теории «пассионарности» Л.Н.Гумилева, где все неприятности — «закон природы, за который люди моральной ответственности не несут»; либо предложение опеки извне живущими среди людей «добрыми пришельцами», чья опека должна заменить собой прошлую и нынешнюю опеку «злых пришельцев» из космоса; либо предложения бездеятельно не противясь злому, покорно властям «уповать на Бога».

· Ясно, что монографии класса «Всемирная история» могут быть двух видов: во-первых, описание глобального исторического процесса, как единого целостного процесса, объемлющего взаимосвязями множество региональных исторических процессов; во-вторых, описание всей совокупности региональных исторических процессов практически без какой-либо связи между ними, что исключает видение целостного глобального исторического процесса теми, кто не способен чувствовать и осмыслять жизнь общества самостоятельно.

Все выше перечисленные особенности учений класса «Всемирная история» в совокупности обеспечивают определенную запрограммированность поведения в обществе носителей животного строя психики и носителей строя психики биороботов, что обеспечивает их социальное поведение, при котором они не видят тирании надгосударственного глобального управления и его очередных и долговременных целей, либо относят все эти процессы исключительно к непостижимому “божьему промыслу”.

Все «Всемирные истории» нынешней цивилизации принадлежат ко второму виду, в котором за деревьями леса не видно: множество локальных процессов, но нет целого. В результате этого большинство их читателей имеют представление об особенностях общественного управления в государствах, принадлежащих региональным цивилизациям, и пребывают во мнении, что надгосударственное управление, а тем более внутрисоциальное управление глобальным историческим процессом отсутствует и он протекает сам по себе, случайным образом, а не в направлении вполне определенных целей управления. А неэффективность Лиги наций и ООН только убеждают его в правоте мнения о невозможности глобального управления, хотя он пытается рассуждать о возможности и невозможности глобального внутрисоциального управления на основе весьма превратных понятий об управлении вообще. Отсутствие же у него понятий об управлении вообще действительно не позволяют рассуждать о возможности или невозможности осуществления весьма специфического глобального внутрисоциального управления, что он и отождествляет с истинностью мнения об отсутствии такого внутрисоциального управления в виду якобы “его принципиальной невозможности”.

Так культивируется исторический миф о бесцельно неуправляемом течении глобального исторического процесса от каменного века до наших дней, вопреки множеству исторических фактов, которые говорят о том, что изначально в глобальном историческом процессе имеет место цивилизаторская миссия, а то и не одна, каждая из которых преследует вполне определенные и во многом взаимно исключающие глобальные цели.

В частности, если на склонах Арарата действительно сохранился древний корабль, то сокрытие информации о нем — лежит в русле попыток скрыть цивилизаторские миссии в истории нынешней цивилизации; если же предпринята фальсификация, т.е. на склонах Арарата нет ничего подобного, и потому действительно показать нечего, то идет накачка библейского исторического мифа, на основе которого осуществляется реставрация демонических порядков прошлой глобальной цивилизации, погибшей в катастрофе.

Возражения же против целесообразно управляемого на внутирсоциальном уровне характера течения глобального исторического процесса носят истерический характер, а при возможности — характер беспощадных репрессий против тех, кто придерживается этого мнения. Но никто и никогда не брался за то, чтобы показать:

— лживость сообщений о гибели Атлантиды;

— подлог раннесредневековых карт с изображением Антарктиды и обеих Америк (карта Пири Рейса — не единственная[116]);

— фальсификацию обелисков на Луне, план расположения которых согласно фотографиям “Маринера?9”[117] зеркально повторяет план расположения пирамид в Гизе в Египте и т.п., поскольку обширный фактологический материал такого рода, распределенный хронологически на всем протяжении истории нынешней глобальной цивилизации, даже в случае его подлога является выражением глобального надгосударственного управления, но несколько отличного от того, о котором преимущественно идет речь в настоящей работе.

Поскольку систематические действия, как минимум по неафишированию, а как максимум по сокрытию глобального надгосударственного внутрисоциального управления и определённой цивилизаторской миссии не бесцельны, то это приводит к вопросу о характере взаимоотношений цивилизаторов и цивилизуемых.

Как известно из истории, отношения «отсталых» и «носителей прогресса» уже олицетворены двумя эпизодами общения «цивилизованных» и «дикарей»:

— английского капитана Дж.Кука (1728 — 1779), «дикари» быстро съели, и, как всякий обед, начисто забыли, если не к ужину, то к следующему обеду[118];

 — Н.Н.Миклухо-Маклай       (1846 — 1888) несколько лет жил среди папуасов, а спустя более ста лет в том народе его всё еще помнят и именем его называют детей.

Есть основания полагать, что столь различная судьба двух исследователей обусловлена не столько разнокачественностью «дикарей», сколько разнокачественностью тех цивилизаторских миссий, в осуществлении которых участвовал каждый из них. Как известно, Великобритания в течение нескольких столетий создала глобальную колониальную империю, в которой первосортным человеком признавался только англосакс, а на коренное население Австралии еще во второй половине XIX века устраивались охоты, как на диких зверей; и даже потомки голландцев не были признаны за первосортных людей в ходе англо-бурской войны.

Это означает, что по существу Дж.Кук пал жертвой самообороны от агрессивно злобных цивилизаторов. В.С.Высоцкий, будучи наркотизированным и потому извращенно разумеющим биороботом, с абстрактным гуманизмом которого многие его почитатели носятся последние двадцать лет, как дурни с писаной торбой, словами песни, посвященной этому эпизоду “За что аборигены съели Кука?... — молчит наука”: «метнул ГАДЮКА — и нету Кука», — тем самым выразил, свою покорность и принадлежность той же цивилизаторской миссии, которой принадлежал и съеденный Дж.Кук.

Однако приведенные примеры относятся к личностному общению представителей разных культур. Но в истории нынешней глобальной цивилизации имело место становление одной из региональных цивилизаций, памятное и всем прочим региональным цивилизациям. Речь идет о коранической цивилизации, в которой того человека, что исполнил цивилизаторскую миссию тоже вспоминают с благодарностью и глубоким уважением. Причем следует иметь в виду, что Мухаммад осуществлял цивилизаторскую миссию не таясь, во всех случаях определённо называя, что именно есть Добро, а что — Зло в конкретных обстоятельствах в жизни общества. Иными словами он осуществлял цивилизаторскую миссию, отличную от той, в которой со времен каменного века “раса господ”, не будучи способной к явному господству над рабами, старается осуществить скрытное господство, маскируемое от тех, кому они стремятся навязать рабскую долю. Осуществление цивилизаторской миссии, к которой принадлежал Мухаммад, явной альтернативы библейской доктрине восстановления Атлантиды, также можно проследить с добиблейских и с допотопных времен.

Всё это — с учетом коранических сообщений — означает, что прошлая глобальная цивилизация была уничтожена Свыше вовсе не для того, чтобы спустя сколько-то тысяч лет наследники правящей “элиты” Атлантиды возобновили в глобальных масштабах прежние расовые “элитарно”-невольничьи порядки, назвав их «новым мировым порядком». Иными словами, нынешняя глобальная цивилизация, образованная совокупностью региональных цивилизаций, представляет собой ­длительный по отношению к продолжительности жизни поколенияпереходный процесс от объективно порочной античеловечной Атлантиды к цивилизации человечности всех. В этом переходном процессе имеет место не только известная по господствующему историческому мифу смена общественно-экономических формаций, но и менее заметное изменение распределения населения в зависимости от строя психики индивидов, составляющих общество.

В связи с этим придется более подробно рассмотреть тематику, затронутую в конце раздела 3.4 достаточно общей теории управления. Многим известна легенда о греческом философе Диогене (около 400 — около 325 гг. до н.э.), который, как повествует легенда, жил в бочке, днем ходил по городу с фонарем, а на вопрос «зачем ему днем фонарь?» отвечал просто: «Ищу человека...»[119]

Эта легенда веками кочует из одного учебника в другой, но и по сию пору Диогена, многие о нём наслышанные, воспринимают в качестве «городского сумасшедшего» древнего Синопа, подобно тому, как в начале этого века в качестве «городского сумасшедшего» уткнувшиеся каждый в свой огород обыватели города Калуги воспринимали К.Э.Циолковского. Диоген же вышел на действительно важный вопрос в жизни общества.

Его суть состоит в том, что поведение особи биологического вида, называемого ныне Человек Разумный, подчас безо всяких к тому оснований в поведении большинства представителей этого вида, строится на основе взаимодействия:

· врожденных инстинктов и безусловных рефлексов,

· бездумной автоматической отработки привычек и освоенных навыков поведения в ситуациях-раздражителях,

· разумной выработки своего поведения на основе памятной и вновь поступающей информации,

· интуиции, выходящей за границы инстинктивного и разумного, рекомендации которой впоследствии могут быть поняты разумом.

Хотя в психике всех людей всё это так или иначе присутствует, но у разных людей эти компоненты по-разному взаимодействуют между собой. В зависимости от того, как все эти компоненты иерархически организованы в психике индивида, можно говорить о строе психики каждого из них. Можно выявить следующие основные типы строя психики индивидов:

Есть люди, чье поведение подчинено инстинктам, а разум обслуживает инстинктивные потребности и пытается приспособить к этому служению интуицию.

Есть люди, чей разум служит инстинктам, но которые систематически отвергают свои интуитивные прозрения либо они лишены интуиции.

Есть люди, чей разум не является невольником инстинктов, но упиваясь своей независимостью от них, отвергает интуитивные прозрения либо они её лишены.

Есть люди, чей разум в своем развитии опирается на инстинкты, кто прислушивается к интуитивным прозрениям и строит свое поведение на этой основе.

Но и это еще не всё. Индивидам, образующим общество и его подмножества, свойственно порождать коллективную психическую деятельность и эта коллективная психическая деятельность может быть в общем-то всего двух видов:

· в одном случае к ошибкам совершенным одним индивидам добавляются ошибки совершаемые другими. Ком множества их ошибок растет и угнетает общество до тех пор пока оно не сгинет под их гнетом, либо же пока оно не начнет порождать коллективную психическую деятельность второго вида.

· во втором случае ошибки, совершенные одним индивидом, устраняются и компенсируются другими, но при этом каждый заботится о том, чтобы самому совершать меньшее количество ошибок, чтобы не обременять других необходимостью устранения их последствий.

Но кроме того индивиды могут различаться и по взаимоотношениям их индивидуальной психики с порождаемой ими коллективной. При этом индивид:

— либо подневолен коллективной психической деятельности и тогда это — стадность;

— либо он свободный соучастник коллективной психической деятельности, но при этом по отношению к одной стадности он, возможно, выступает в качестве пастуха, будучи не свободным в каком-то ином качестве. Также следует иметь в виду, что и «стадность», и «коллективная свобода», в зависимости от характера информационных процессов в них, могут порождать как «лавину бедствий и ошибок», так и некоторое безошибочное функционирование коллектива в целом.

Это означает, что теоретические знания и освоенные практические навыки (теоретически формализованные и неформализованные) — только приданное к строю психики индивида. Иными словами, человеческое достоинство выражается не в образовании, знаниях и навыках, а в определённом строе психики. Кроме того, хотя многие индивиды на протяжении всей своей жизни пребывают при одном каком-то строе их психики, но многие другие на протяжении жизни изменяют строй своей психики необратимо и неоднократно; также многочисленны и те, чей строй психики неоднократно, но обратимо изменяется даже на протяжении одного дня, а не то чтобы в течение их жизни.

Также разнообразно и порождение коллективной психики множествами индивидов: есть индивиды, чей вклад в коллективную психику всегда направлен к тому, чтобы преобразовать её в «лавину ошибок и бедствий» вне зависимости от их воли и намерений; есть индивиды, которые всегда работают на поддержание безошибочного лада; есть индивиды, которым свойственно и то, и другое — в зависимости от их настроения в данный момент времени, внешних обстоятельств и персонального состава их окружения.

Есть две точки зрения. Одна утверждает, что все особи вида Человек разумный, вне зависимости от обстоятельств происхождения и их достижений в области личностного развития — люди. Другая утверждает, что в качестве людей состоялись только те, кто обладают теми или иными определенными качествами: происхождением от предков, врожденными свойствами, освоенными навыками и знаниями и т.п. Все же остальные, ими не обладающие, в качестве людей не состоялись.

Вторая точка зрения, хотя она и неприемлема многим, однако, имеет под собой реальные основания, которые недопустимо игнорировать в жизни ни в личном общении, ни тем более в политике, затрагивающей жизнь многих поколений. В обществах нынешней глобальной цивилизации реально присутствуют благонамеренныенетерпеливцы, которые проявляя этот специфический вид дурости, собираются в стаи. Когда такие стаи, идя напролом, обретают государственную или иную власть над обществом и начинают осуществлять свой абстрактный гуманизм под лозунгом всеобщего равенства прав, предоставляемых «прямо сейчас», то это выливается в лавину всевозможного злодейства потому, что различия в строе психики индивидов все-таки реально существуют. Эти различия в строе психики порождают взаимно исключающее понимание каждым из множества индивидов конкретного добра и конкретного зла, либо отсутствие вообще какого-либо определенного понимания таковых. Это выливается во внутриобщественные конфликты множества человекообразных животных, биороботов, своевольно демонических индивидуалистов, и состоявшихся в каждую историческую эпоху людей, в совокупности составляющих общество[120].

Такого рода конфликты, обусловленные различием в поведении, в котором выражается каждый из существующих в обществе строев психики, подавляются или устраняются институтами общественного самоуправления разного рода средствами: «навеять сон», искусственно создать интересы для конфликтующих групп вне сферы конфликта, физически изолировать от общества или уничтожить одну или более сторон, участвующих в конфликте.

Если различать в жизни строй психики индивида в ранее оговоренном смысле этого термина, в каждом из множества рассмотренных ранее вариантов, то под давлением выявляющихся обстоятельств придется отказаться от мнения о том, что все особи вида Человек Разумный уже фактом принадлежности к этому биологическому виду состоялись в качестве людей.

Но, чтобы не свернуть себе же шею в умопомрачении отрицания достоинства человека за кем-либо из людей, то со второй точкой зрения тоже необходимо определиться конкретно и определённо. Прежде всего необходимо отметить, что отрицание человеческого достоинства по признаку происхождения от определенных предков, освоенных им в жизни навыков и знаний, не подтверждается исторически.

Кастовая система, определявшая якобы меру человеческого достоинства всех индивидов в обществе, рухнула даже, если изначально кто-то правильно и распределил людей по кастам в зависимости от их способностей и навыков. В семьях высших каст рождались те, кто не мог освоить самодисциплину, навыки и знания, необходимые для деятельности в обществе; вырос так, что не обладал личными качествами, некогда положенными в основу кастового деления; а в семьях низших каст рождались те, кто вырастая обладал личными качествами, провозглашенными в качестве неотъемлемого свойства высших каст; рождались те, кто мог освоить “высшие” знания и навыки, но кому “высшие” касты не позволяли, отрицая их право на это по признаку происхождения. Касты по существу смешались, хотя сохранились касты по форме и «наступила Кали-Юга».

Потом примерно так же рухнул рабовладельческий и сословный строй, где не было непроходимых кастовых границ, где сословные границы были проницаемы хотя бы в статистическом смысле: т.е. было общее правило, но имели место и более или менее многочисленные исключения из него.

На всем протяжении истории представители простонародья неоднократно и повсеместно показывали угнетавшим простонародье “лучшим людям”, что и они не лыком шиты и могут делать лучше чем аристократы практически всё: воевать — Спартак, С.Т.Разин, Е.И.Пугачев, С.О.Макаров, М.В.Фрунзе, Г.К.Жуков и многие другие; делать науку — М.В.Ломоносов, Д.К.Максвелл, Т.А.Эдисон; создавать произведения искусства — И.Е.Репин, С.А.Есенин, Г.В.Свиридов; творить большую политику — А.Д.Меньшиков, А.Гитлер, В.М.Молотов, Л.М.Каганович.

Как бы кто ни относился к перечисленным и многим другим представителям простонародья как к людям, считая одних исчадиями ада, а других лучшими представителями их народов, но в своих областях деятельности все они действовали, как минимум, не хуже представителей современной им “элиты”. С другой стороны, если обратиться к хроникам, повествующим о делах “выдающихся представителей элиты”, всегда признававшей полноту достоинства человека только за собой, то многие из её представителей понаделали столько мерзостей, что говорить об их достоинстве человека не приходится.

Если же смотреть на организацию психики индивида и его участие в коллективной психике, то многое в этой проблематике выявляется весьма своеобразно.

В общем же взрослым, вне зависимости от их происхождения, свойственны врожденная и культурно обусловленные составляющие психики. Обе они находят свое выражение в поведении индивида. При этом у разных индивидов и на разных интервалах времени поведение может быть подчинено либо инстинктам, либо социально обусловленным привычкам (как и инстинкты обеспечивающие бездумные автоматизмы поведения), либо разумному творческому миропониманию каждого, либо выходящему за пределы понимаемого: собственной интуиции; водительству Свыше, либо одержимости (в инквизиторском смысле этого слова).

В идеале человек должен быть свободен от одержимости, а всё остальное — инстинкты, привычки, разум и интуиция — в его психике должно пребывать в ладу между собой и вспомоществовать одно другому в обеспечении поведения человека в жизни так, чтобы не было конфликтов с Высшим промыслом[121].

При этом явно, что инстинкты,  разум, интуиция — явления разного иерархического порядка в организации поведения человека на основе и в ходе его психической деятельности. На наш взгляд — для человечного строя психики — нормально, если врожденные рефлексы и инстинкты являются основой, на которой строится творчески разумное поведение; нормально, когда интуиция предоставляет информацию, которую возможно понять посредством интеллектуальной деятельности. То есть для человечного строя психики индивида нормально, когда в его иерархии интуиция выше разума, разум выше инстинктов, а все вместе они обеспечивают пребывание человека в ладу с биосферой Земли, Космосом и Богом.

Также человечному строю психики свойственно, когда человек не является невольником коллективной психической деятельности, а коллективная психическая деятельность протекает так, что ошибки, совершенные одним устраняются и компенсируются другими и каждый заботится о том, чтобы своими ошибками не обременять окружающих и потомков.

Тем не менее достаточно часто приходится видеть, как разум становится невольником и обслуживает животные инстинкты человека; как рассудочная деятельность превозносится над собой и пытается отрицать интуитивные оценки и даже полностью вытесняет интуицию из психики; как все они вместе, пытаются отвергать Высший промысел, вследствие чего становятся жертвами непреодолимой ими самими ограниченности и одержимости.

Также приходится видеть и то, как одни индивиды предпринимают действия в отношении других с целью извратить строй их психики в направленности к животному или “зомби”[122], чтобы они сами или другие имели возможность паразитировать, эксплуатируя психически искалеченных в качестве “разумных животных” либо роботов, физиологически во многом идентичных человеку.

Соответственно, если разум отвергает интуицию или служит — как невольник — инстинктам, то это — не человеческий, а животный строй психики.

Встречающийся в настоящей работе термин животный строй психики следует понимать именно в этом смысле: верховенство врожденных животных инстинктов и безусловных рефлексов в совокупности с воспринятыми из культуры общества и бездумно отрабатываемыми в жизненных обстоятельствах привычками поведения (своего рода аналог дрессировки) надо всеми прочими компонентами психики того, кому дано Свыше быть Человеком Разумным.

При этом следует иметь в виду, что и при животном строе психики интеллект может быть высокоразвитым, а его носитель может быть выдающимся профессионалом в той или иной области деятельности цивилизации[123](включая и магию), по существу не будучи человеком.

Все эти инстинкты, рефлексы, привычки и пристрастия в поведении людей при животном строе психики срабатывают бессознательно автоматически при соприкосновении индивида с соответствующими внешними раздражителями-обстоятельствами, ситуациями.

Если не мудрствовать лукаво и не начинать описание жизни взрослых и почему-то обособленных от общества и друг от друга индивидов — мужчин и женщин — в отрыве от реальной истории некогда вышедшего из биосферы современного общества; если вопреки этой западной “интел­лигентской” традиции начинать с того, что Человек Разум­ный — один из многих видов в биосфере Земли, то придется заняться детальным и определенным выявлением того, что в жизни людей обусловлено общебиологическими закономерностями, а что культурой, развиваемой в общественной жизни множества индивидов, проходящих через все возрасты жизни[124].

Психике каждого взрослого человека свойственна генети­чески обусловленная (врожденная) составляющая и культурно обусловленная (воспитание и самовоспитание) составляющая. При этом культурно обусловленная составляющая развивается в течение всей жизни на основе свойственной личности врожден­ной, генетически обусловленной составляющей, а также и на основе культурного наследия прошлых поколений, общего более или менее широкому кругу лиц.

В жизни биологического обоеполого вида Человек Разумный функциональное назначение каждого из полов различно. И это функциональное биологическое различие полов должно находить свое выражение в особенностях врожденных инстинктов мужчин и женщин, и, как следствие, — в культуре общества, которая, будучи по существу гибким многовариантным продолжением и оболочкой инстинктивных однозначных жестких программ поведения, является порождением разума многих поколений людей и несет в себе как “бесполые” составляющие, так и обусловленные половыми особенностями людей составляющие.

Если анализировать проблематику взаимоотношения полов в нынешней цивилизации под этим углом зрения, то результат окажется для многих неожиданным:

Вопреки неоспоримой видимости патриархата как господствующего типа общественных отношений, если не в подавляющем большинстве стран Мира, то по крайней мере в обществах, в основе культуры которых лежит Библия, господствует матриархат в скрытной его форме[125].

Всякое общество, в котором есть аналог пословицы “Никто не герой перед своей женой” и выражающие ту же суть анекдоты[126], живет в матриархате. Матриархат в прошлой истории становления нынешнего человечества обусловлен генетически запрограммированным набором инстинктов особей каждого из полов.

Если смотреть на процесс жизни биологического вида в биосфере, то в нём главное — воспроизводство поколений. Это касается всех видов, в том числе и Человека.

Особенность Человека в том, что ему Свыше дано быть Разумным и предоставлена свобода воли, в основе которой лежит свобода осмысленного выбора своей линии поведения в Объективной реальности. Разум порождает культуру — всю генетически ненаследуемую информацию, передаваемую в обществе от поколения к поколению в их преемственности; но кроме культуры человеку свойственны и врожденные программы поведения — разного рода безусловные рефлексы и инстинкты, о которых тем, кто намеревается осуществить себя в качестве человека состоявшегося, а не человека потенциального (каким он является от рождения),в нынешней цивилизации забывать недопустимо.

На тех этапах развития нынешнего человечества, когда каждый человек больше получал от природы непосредственно, чем опосредованно через систему общественных отношений, можно считать, что культура была не развита по сравнению с нынешним временем, когда многие “живут” полностью в искусственной среде обитания и непосредственно от природы не получают почти ничего кроме воздуха. И соответственно, в начале становления нынешней цивилизации по завершении предшествовавшей глобальной катастрофы, врожденные инстинкты играли существенно большую роль в жизни вида Человек потенциально Разумный нежели культура[127]. Поскольку функциональная нагрузка мужчины в обеспечении жизни биологического вида в таких условиях — обеспечение жизни и деятельности матерей, непосредственно взращивающих потомство, то мужские половые инстинкты сформированы так, что, блокируя программы полового поведения заячьего типа «наше дело не рожать (а тем более и не воспитывать...) — сунул, вынул и бежать...», поставили мужчину в психически подчиненное по отношению к женщине положение. Это генетическое наследие прошлого сохранилось во многом до наших дней, поскольку культура развиваемая на такой психической основе, — во многом продолжения и оболочки программ инстинктивного поведения.

Иными словами, в системе «матери - дети - мужья (не обязательно отцы)», выстроена генетически обусловленная инстинктивная система соподчинения поведения разнополых и разновозрастных индивидов: мать в поведении непосредственно ориентирована на удовлетворение жизненных потребностей ребенка в первые годы его жизни, пока он не способен жить без стороннего обслуживания; мужчина через половые инстинкты привязан к женщине и подчинен женщине[128] (не обязательно единственной, но может быть и многим — по-кобелячьи), а тем самым психически опосредованно ориентирован на удовлетворение потребностей ребенка (возможно, что и рожденного и не от него), а также и матери.

Но поскольку во времени поведение женщины статистически преобладающе ориентировано на полосу “Настоящее” на рис. 4, то психологическая зависимость мужчины от женщины через половые инстинкты создает условия, в которых, если женщине свойственен сиюминутно ориентированный деспотизм, то он подчиняет сиюиминутности и мужское поведение, возможно, что само по себе ориентированное на иные хронологические интервалы, чем в психику мужчины женщина вносит разлад, обрекая его на повышенную болезненность и ущербность жизни.

*     *     *

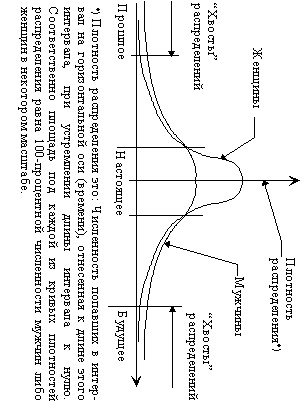
На рис. 4 показано распределение мужчин и женщин по расположению во времени целей, ориентируясь на осуществление которых, муж­­чины и женщины стро­ят свое поведение вне зависимости от того, осознают они хронологическую ориентацию их деятельности или нет. Ри­сунок — схематичный, а не масштабный: то есть на нём показаны только характерные отличия статистик, описывающих типы психики мужской и женской составляющих человеческого общества, но не численные значения каждой из групп мужчин и женщин, ориентирующих своё поведение на тот или иной интервал, расположенный на оси времени. На оси времени от глубокого прошлого до весьма отдаленного будущего также нет единиц измерения.

Тем не менее, на рисунке можно видеть три интервала на оси времени, весьма отличных один от другого по численному пре­обладанию в них муж­чин и женщин. Назовем их усло­в­­но “Прошлое”, “Насто­ящее”, “Будущее”.

“Настоящее” — это та область, в которой сосредоточились те, кто, образно говоря, “живет сей­час”[129]: сегодня доде­лы­вает то, что следовало за­вер­шить еще вчера; что-то делает сегодня насегодня и “ищет зонтик назавтра потому, что пообещали дождь”.

Среди этой категории довольно много людей, ко­торые в “Настоящем” не ду­мают о том, что ныне они пожинают плоды своих про­ш­­лых поступков и без­дей­ствия; а также не ду­ма­ют о том, что совер­шаемое ими ныне принесет свои плоды в будущем. Это бес­смыс­лен­ное отношение к прошлому и к будущему приводит к тому, что многие из них по своему дурному нраву в прошлом посеяли то, что неприемлемо для них сейчас, а сейчас сеют то, что будет неприемлемо для них в будущем.

При этом — в силу общности и целостности мира для всех людей — с дурны­ми последствиями их безоглядности и непредус­мотрительности так или иначе приходится сталкиваться не только им самим, но и многим другим.

В общественной жизни эта полоса “Настоящее” на оси времени занимает интервал примерно от “две недели тому назад” до “спус­тя две недели” и включает в себя разного рода оперативную реакцию на поступающую житейскую информацию, которая утрачивает значимость примерно в течение двух — трех недель для подавляющего большинства людей.

Интервалы “Прошлое” и “Будущее” математически иден­тич­ны в том смысле, что это — “хвосты” распределений. В правом и левом “хвостах” в совокупности сосредоточена весьма малая доля статистики: в общей сложности в пределах 3 — 5 % от обще­го количества наблюдаемых единичных явлений. Но, как заметил К.Прутков, от малых причин бывают большие последствия.

В “Прошлое” попали те, кого А.С.Грибоедов в “Горе от ума” охарактеризовал словами: «Сужденья черпают из забытых газет времен очаковских и покоренья Крыма.» Это те люди, которые пытаются втащить в настоящее не то, что нормы вчерашнего дня, а нормы прошлого века или даже прошлых тысячелетий. В политике они являются действительными реакционерами и ретроградами.

В “Будущее” попали те, в чьем поведении преобладает индивидуальная и коллективная деятельность, плоды которой возможны в весьма отдаленном — по меркам бытовой повседневности — будущем: спустя годы, десятилетия, столетия, тысячелетия.

Следует сделать особую оговорку: распределения пред­ставлены в привязке целей поведения ко временным интервалам, а не по критериям Добра и Зла, Хорошо либо Плохо. Опыт истории показывает, что в прошлом не всё было плохо, в сравнении с настоящим, и в будущем не всё будет столь хорошо, как это представляется, опять же с точки зрения осуществления сегодняшних идеалов. И хотя, известно утверждение: “Что ни делается — всё к лучшему”, — тем не менее в обществе есть дальновидные злодеи[130], которые по характеру их деятельности попадают в группу “Будущее”. То есть от бессознательного и во многих смыслах правильного автоматизма восприятия “Будущее” = “хорошо”, “Прошлое” = “плохо” по отношению к рассматриваемому рисунку следует отстроиться.

Рис. 4 интересен тем, что показывает качественные различия в ориентации поведения, обусловленные свойствами психики мужской и женской составляющих общества: то есть в ориентации поведения множества мужчин и множества женщин, а не в ориентации поведения конкретного отдельно рассматриваемого человека, который вне зависимости от его пола может реально принадлежать всякому интервалу на оси времени. В полосе “Настоящее” женщины численно преобладают над мужчинами, а в “хвостах” распределений наоборот: мужчины численно преобладают над женщинами. Но эти особенности распределений полов по хронологической ориентации поведения их представителей выражаются во множественных явлениях жизни общества. Эти особенности психики полов проявляются как в общественной жизни в целом, так и в политике.

Инстинкты и их продолжения и оболочки, свойственные культуре, представляют собой краткосрочные по отношению к продолжительности жизни программы поведения. Поэтому в горбе распределения в полосе “Настоящее” на рис. 4, нашло свое косвенное выражение господство животного строя психики в обществах нынешней цивилизации.

*      *       *

При этом следует иметь в виду, что такого рода инстинктив­ная подчиненность мужчины женщине биологически (автома­ти­чес­ки), а не социально (обдуманно), с начала исторического развития цивилизации возлагала на него заботу о судьбах преимущественно близких ему женщин и детей, но не заботу об обществе в целом, не заботу о функционировании государственности и иных структур и инфраструктур общества — средств, развитых в культуре, при помощи которых в ходе коллективной деятельности решаются задачи общественного в целом уровня значимости, решение которых невозможно силами одного человека, семьи или рода-племени; тем более невозможно на основе информационного обеспечения поведения инстинктивными программами.

В связи со сказанным подчеркнем, что речь идет о подавляющем большинстве связей «мужчина — женщина» в обществе, а не о “хвостах” статистических распределений, в которых на протяжении всей прошлой истории либо отношения мужчин и женщин не складываются обычным для большинства пар образом[131], либо в них царит неземная обоюдная Любовь.

В настоящее же время инстинктивно обусловленный круг ответственности мужчины за судьбы женщин и детей оказывается недостаточным, в отличие от древности каменного века и первобытных охоты и собирательства, когда многое определялось обстановкой в месте жительства семьи, рода, воспринимаемой всеми непосредственно. В наши дни безопасность жизни женщин и детей во всяком месте и во всякое время оказывается обусловленной намерениями  и со?бытиями, весьма удаленными географически и хронологически от места и времени жительства, и не может быть обеспечена на основе подчиненности психики человека инстинктам и безоглядной ориентации его поведения на полосу “Настоящее”: “прямо сейчас ± две недели”[132] и в пределах непосредственно видимого земного горизонта.

То есть развитие культуры и техносферы привело к тому, что настало время, когда генетически обусловленный явный или скрытный матриархат, подчиняющий искусства, науку, политику сиюминутному близорукому и безответственному деспотизму весьма узкой груп­пы женщин, психологически довлеющих через половые инстинкты над деятелями искусств, науки и политики[133], становится опасностью для дальнейшей жизни вида Человек, которому Свыше дано быть Разумным и свободно вольным, а также и для всей биосферы Земли.

Но подавляющее большинство населения Запада и в эпоху после первой промышленной революции (включая и большую часть “элиты”) при количественном преобладании нечеловечного строя психики по-прежнему «жило настоящим» и событиями, локализованными в пределах непосредственно видимого горизонта. Это же касается и России до 1917 г., включая и её “элиту” и большую часть духовенства.

Вследствие этого все катастрофы государственности и культуры воспринимались подавляющим большинством людей подобно нахлынувшим и непредсказуемым заранее стихийным бедствиям, от которых невозможно защититься заблаговременным и целесообразным изменением самих себя и жизненного устройства общества. Это обуславливает необходимость понимать[134], в чем именно выражается господство нечеловечного строя психики, унаследованного от древности, на протяжении всей истории нынешней цивилизации и в наши дни: в противном случае якобы «стихийные» социальные бедствия будут накатываться и в будущем.

Известно, что в биосфере в воспроизводстве поколений видов на основе полового различия особей, не последнюю роль играют инстинктивные программы привлечения особей противоположного пола и конкуренция среди особей одного и того же вида за лучшего партнера по половым отношениям и за территорию обитания; а также и охрана своей территории от особей своего же вида, но не принадлежащих своей семье, стаду.

У разных видов активная роль в привлечении особей иного пола для продолжения рода, принадлежит либо самцам, либо самкам. Если искать аналоги такого рода в жизни человеческого общества, то практически всю историю Запада сопровождает история женской моды, женской косметики и парфюмерии и женской галантереи. Мужская мода, мужская косметика и парфюмерия и мужская галантерея не являются таким предметом обсуждения и внимания общества, как женские. Причина этого в том, что в половых отношениях на основе инстинктов именно женщина, во-первых, вызывает в мужчине желание близости с нею и. во-вторых, она же решает принять или отвергнуть вызванное ею же желание. Мнение об активной роли мужского пола в половых отношениях — иллюзорно и вызвано тем, что после того, как женщина умышленно или неумышленно активизировала в мужчине инстинктивные программы полового поведения, мужчине приходится прилагать усилия к тому, чтобы женщина приняла его желание. Поэтому, хотя женщина-модница, тем более под покровом утонченной “элитарной” культуры, конечно не столь явное животное как откровенно похотливая не отесанная потаскуха, но при определённом взгляде отличие между ними только в культурных продолжениях одних и тех же — не подвластным их осмысленной воле — половых инстинктов.[135]

Соответственно, если мужчина через половые инстинкты подчинен женщине с животным строем психики, в поведении которой преобладают животные инстинкты и их культурные продолжения и оболочки (типа женской моды), то его поведение также весьма далеко от человеческого[136]. И так под гнетом животных женских инстинктов живет на протяжении веков вся библейская цивилизация — Запад: Европа, обе Америки и Австралия, во многом Россия[137].

Конкуренция и борьба за наилучшую территорию, в животном мире запрограммированная в соответствующие инстинкты, в обществе также имеет свое культурное продолжение и выглядит как конкуренция за обладание собственностью, за обеспеченность жилища, за демонстрацию окружающим высокого “жизненного” стандарта, а по существу — стандарта потребления.

Рукотворное жилище — аналог территории обитания в природе и место пребывания матери и подрастающих поколений. Так обустройство жилища оказалось в ведении женщины. Соответственно и гонка безудержного стяжания, в которой на протяжении веков лидирует Западная цивилизация, поскольку в ней она подхлестывается ростовщичеством, предписанным Библией расовой еврейской интернацистской “элите”[138], является культурным продолжением также преимущественно женских инстинктов. Превосходство над родней, знакомыми и друзьями в обустройстве и убранстве жилища гораздо более интересует женщин, чем мужчин, и гораздо более ценимо ими, а не мужчинами. А статистически преобладающая среди женщин ориентация поведения на полосу “Настоящее” на рис. 4, в этом случае обретает конкретное выражение: «У них есть, у нас нет... Хочу сейчас... Ты не можешь обеспечить семью всем необходимым, чтобы нам жить не хуже, чем другие люди[139] живут...»

При этом, если деятельность мужчины направлена на поддержание долгосрочных процессов, то с точки зрения сиюминутного инстинктивно обусловленного женского деспотизма эта деятельность в “прямо сейчас” — недопустимое лишениеейным[140] мужчиной, которым она обладает или притязает обладать  как собственностью, и её самой, и её (также собственной) семьи чего-то желанного ей прямо сейчас, но никак не забота о будущем благополучии всех (и в том числе) и её самой, и семьи в целом.

В массовой статистике такого рода инстинктивно обусловленный близорукий женский диктат в отношении мужчин, обеспечивающих жизнь семьи, но в то же время и невольников половых инстинктов, подчиняющих их женщине, выливается в безоглядно беззаботное обгладывание ЖИВОЙ ПЛАНЕТЫ на протяжении многих веков, тем более для нее неприемлемое, чем выше энерговооруженность цивилизации носителей животного строя психики. В итоге — глобальный биосферно-экологический кризис, порожденный западной региональной цивилизацией скрытного матриархата, обглодавшей всю планету В ГОНКЕ БЕЗУДЕРЖНОГО ПОТРЕБЛЕНИЯ, исходящей из сиюминутного агрессивного вожделения одних самок превзойти в потребительстве других самок трудами подневольных им через инстинкты самцов.

И подчиненность поведения именно женщины животным инстинктам конкуренции за лучшее место в среде обитания не знает ни меры самоограничения, ни благодарности: «Воротись, поклонися рыбке. Не хочу быть вольною царицей, хочу быть владычицей морскою, чтобы жить мне в Окияне-море, чтоб служила мне Рыбка Золотая и была у меня на посылках.»

В наши дни смена соотношения эталонных частот биологического и социального времени уже произошла. В наши дни на протяжении активной жизни одного поколения неоднократно успевают обновиться несколько поколений технологий и техники не в одной, а во многих отраслях техносферы, изменяя как сферу профессиональной деятельности людей, так и их домашний быт. И если подавляющее большинство населения по-прежнему живет при нечеловечном строе психики, ориентируя свое поведение (обдумано или бездумно) на цели, сосредоточенные на рис. 4 в полосе “Настоящее”, то, поскольку жизнь большинства протекает в технологически обусловленном обществе, почти все они сталкиваются в жизни с тем, что прежде освоенные ими навыки и знания постепенно или внезапно обесцениваются, вследствие чего они утрачивают свой прежний социальный статус, в то время как монопольно высокую цену за свой труд позволяют взимать иные знания и навыки, которыми они не обладают. Но и носители новых знаний и навыков, внезапно поднявшись посредством их освоения до вожделенных прежде жизненных стандартов (потребительских и социальных высот), также внезапно обнаруживают, что и их профессионализм — в силу того же технико-технологического прогресса — утрачивает значимость.

Так выясняется, что для поддержания своего социального статуса всем (за редким исключением) необходимо непрерывно воспроизводить свой профессионализм.

Это внезапно обнажилось в России как результат имевших место в последнее десятилетие государственно-политических событий. Но такое же положение и в стабильных (по российским понятиям) обществах Запада, которые последние сто — двести лет живут без изменения общественно-экономического устройства и потому видятся из России доморощенным реформаторам в качестве идеала[141], подлежащего воплощению в жизнь и здесь.

По причине такого рода идеализации внешне представляющегося стабильным Запада, в России реформаторы ныне пытаются осуществить то, что следовало воплотить в жизнь еще во времена Петра I, а самое позднее — во времена Екатерины II. Ныне следует воплощать в жизнь совсем другое, но “элитарным” реформаторам — жертвам “кодирующей педагогики”[142] — до этого самостоятельно не додуматься, а принять со стороны — невозможно по причине нелегитимности такого рода знаний для господствующей системы явных и тайных посвящений и свойственной ей “кодирующей педагогики”, программирующей психику людей, будто люди — компьютеры.

Возможности психики и тела человека по переработке информации обусловлены не только генетически, но и воспитанием личностной культуры мироощущения и мышления каждого, что противно “кодирующей педагогике”. И потому возможности ограничены как генетически, так и достигнутым уровнем развития личностной духовной культуры в пределах генетически заложенного потенциала. По причине такого рода ограниченности, перемалывая информацию в темпе её поступления под напором “веяний времени” (тем более, если это делается на основе культуры шаблонного, исключающего творчество мышления, порождаемой “кодирующей педагогикой”), можно только войти в “стресс”, который повлечет разного рода болезни, излечить которые возможно только одним способом — ликвидировать информационную причину “стресса”. Но последнее вне власти всех отраслей развитой на Западе медицины, а также и вне власти западной социологии и политического устройства[143].

Это означает, что участие в гонке за поддержание и повышение своего социального статуса[144] в технократическом обществе (подобном Западу) — прямой путь к мучительному самоубийству через болезни, вызванные неспособностью переработать всю информацию, необходимую для поддержания и роста квалификации и обусловленного ею дохода, определяющего “жиз­нен­ный стандарт” потребительства.

Кроме того, такого рода “стрессы” гонки потребления бьют прежде всего по группам населения репродуктивного возраста, что сказывается и на воспроизводстве ими в обществе новых поколений. Соответственно статистически предопределено, что тем, кто обдуманно или бездумно соучаствует в гонке потребления на основе непрерывного воспроизводства квалификации, просто некого или некогда будет воспитать в культурной традиции, носителями которой являются они сами. И им некому будет в семейной традиции передать свойственные им жизненные ориентиры и навыки их осуществления.

А если у них даже и будут дети, то таким детям при их жизни в семье жертв непрерывного “стрессового” состояния будет передана вся проблематика взрослых; либо же детям придется самостоятельно заняться воспитанием в себе иной нравственности, иной жизненной ориентации, иной самодисциплины и иного стиля жизни с учетом печального опыта старшего поколения на основе его переосмысления. Только в этом случае всё же родившиеся дети смогут избежать воспроизводства в новых поколениях бездумно унаследованной судьбы своих предков и тех неприятностей, с которыми столкнулись их родители, но сверх того отягощенной и их собственными ошибками.

Одной из такого рода массовых ошибок стала попытка “снять стресс” разного рода сильными и слабыми наркотиками, как природного происхождения, так и синтетическими. Если оставить в стороне приобщение к наркомании подростков, стремящихся таким путем проявить себя в качестве независимой от взрослых “сильной личности”, которой “море по колено”, либо ищущих удовольствия от бесцельности своего существования, а рассматривать именно “снятие стресса” таким путем, то имеет место по существу следующее. Психика индивида выдает (либо пытается выдать) на уровень сознания — обусловленную реальной нравственностью — оценку качества его жизни. Такая оценка может быть эмоционально двузначной («хорошо» либо «плохо») или же ей могут сопутствовать какие-то интеллектуальные рассуждения и обоснования. Если оценка воспринимается, как нежелательная, то человек по существу оказывается перед выбором:

· либо осмыслить свои эмоциональные оценки ситуации до конца, т.е. до осознания определенного ответа на вопрос, как изменить себя и окружающие обстоятельства так, чтобы обеспечивался психологический комфорт;

· либо закрыть выход на уровень сознания нравственно неприемлемой информации в её бессознательно-эмоциональном обобщенном виде или в интеллектуально детализированном виде, не изменив ничего в своей нравственности, психике и определяемом ими образе жизни.

Для стремящегося обладать достоинством человека и поддерживать таковое и впредь — естественно осмыслить обстоятельства и себя в них до конца, т.е. до осознания определенного ответа на вопрос, как обрести психологический комфорт; после чего попробовать осуществить в жизни полученный им ответ или попробовать получить новый иной ответ на те же вопросы.

Для того, кому первое оказывается невыносимым бременем, непреодолимой преградой, наркотический способ “снятия стресса” может обеспечить психологический комфорт быстро и без тяжелых размышлений о неприятном, а тем более и без постановки каких-либо обязательств перед самим собой; конечно, если наркотизация не открывает сразу в его психику дорогу какому-либо кошмару, от которого всё же предпочтительнее скрываться в менее кошмарной трезвости. Наркотическое опьянение извращает и разрушает интеллект, как естественный генетически предопределенный процесс, поэтому, если кто-то в борьбе со “стрессом” или в поисках удовольствий встает на путь “сильной” или “слабой” наркомании, то по существу тем самым он делает заявление о том, что разум для него избыточен и мешает жить, а ему было бы приятнее существовать неразумной хорошо ухоженной декоративной[145] (а не рабочей[146]) скотиной, живущей беззаботно на всем готовом в свое удовольствие. Тем самым он изобличает себя в качестве действительного недолюдка. И это так, каких бы высот он ни достиг в социальных иерархиях цивилизации, где господствует животный строй психики и строй психики зомби, запрограммированного культурой.

Участие в физиологии организма наркотических химических соединений (либо же превышение ими генетически предопределенных уровней в организме при его естественной физиологии) не предусмотрено нормальной генетикой вида Человек Разумный. Это ведет к подрыву здоровья и статистически преобладает в репродуктивном возрасте (или упреждает его), чем и вызывает пресечение генеалогических линий[147] “сильных и слабых” наркоманов механизмом естественного отбора, проявляющимся в культуре при смене поколений бездумного общества точно также, как и в биосфере.

Медицинское лечение наркомании в подавляющем большинстве случаев оказывается неэффективным, поскольку уход в наркоманию от “стресса” или в поисках наслаждения — выражение нравственной порочности или иного рода ущербности психики. Поэтому, если в процессе лечения нравственность и нравственно обусловленная структура и строй психики не становятся человечными — а это требует усилий прежде всего от пациента, но не от медицины[148], — то (даже если в последствии нет рецидивов наркомании) прошедший курс лечения остается травмированным и запуганным недолюдком. Кроме того некоторая часть причин “стресса” лежит в области коллективной психики общества, и если медицина, обращаясь к проблемам наркомании, ограничивает себя психоанализом и психосинтезом исключительно личностной психики, игнорируя процесс порождения коллективной психики множеством индивидов и процессы взаимодействия индивидов с коллективной психикой, то она заведомо оказывается не способной вылечить наркомана, поскольку больна сама, изолировавшись от истории и жизнеречения.

Это означает, что статистически предопределённо преимущество в воспроизводстве поколений получают представители тех генеалогических линий, кто не видит смысла ни в “снятии стресса” наркотическими средствами, ни в перемалывании профессиональной информации по существу ради того, чтобы пасть жертвой “стресса” и его последствий, неподвластных ни легитимной медицине (как отрасли науки), ни легитимной политике. Соответственно им статистически предопределённо будет кому передать в последующих поколениях[149] свои жизненные ориентиры и воспитать свойственную их семьям нравственность, строй психики и культуру поведения.

Так общая всем культура технократической цивилизации, при субъективно разном к ней отношении разных индивидов, становится фактором естественного отбора в популяциях вида, получившего название Человек Разумный, разделяя человечество на две составляющие с разными судьбами, порождаемыми каждым из принадлежащих той либо иной составляющей человечества. Хотя непроходимых границ между обеими составляющими человечества в настоящее время в статистическом смысле ещё нет, тем не менее процесс их необратимого размежевания протекает на протяжении всей эпохи смены логики социального поведения вследствие изменения эталонных частот биологического и социального времени, приобщая различных индивидов к той либо иной составляющей человечества с разными судьбами.

Но прежде чем говорить о жизни той части человечества, которая свободна от угнетающего воздействия “стрессов” и в эпоху после информационного взрыва в середине ХХ века, необходимо сделать одно обширное отступление и осветить еще одну тему.

Многократное обновление прикладных знаний и навыков в профессиональной деятельности и в домашнем быту на протяжении жизни одного поколения вследствие изменения соотношения эталонных частот биологического и социального времени — это только одна сторона дела, объективно проявляющаяся в статистике жизни общества. Вторая сторона дела состоит в том, что изменилась не только скорость обновления общественно необходимых прикладных знаний и навыков, но и “ширина” тематического спектра в обществе, с которыми сталкивается в повседневности каждый из множества индивидов, в принципе обладающий свободой воли и иными возможностями свободного Человека Разумного, и кто только в силу особенностей воспитания и культуры ограничивает себя в том или ином виде рабства, свойственном нынешней цивилизации.

Вне зависимости от того, к какой социальной группе принадлежит человек, ныне он сталкивается с информацией, непосредственно не относящейся к его профессиональной деятельности, но которая образует информационную “атмосферу”, в которой протекает его профессиональная деятельность и жизнь как его самого, так и его семьи.

В прошлом в условиях сословно-кастового строя общественной жизни, к пахарям или ремесленникам, в совокупности составлявшим подавляющее большинство населения, не приходила повседневно “царская информация”.

· Если же когда и она приходила, то они не различали её в общем информационном потоке и она оставалась для них как бы невидимой;

· увидев же её, не могли понять её общественного значения в силу узости кругозора;

· но даже поняв, малочисленные понявшие из простонародья редко могли осуществить общественно значимое управленческое действие[150] главным образом в силу недостатка в знаниях и навыках, а главное — в силу незнатности своего происхождения, лишавшего их даже правильное мнение авторитета в глазах правящей “благородной элиты”.

С другой стороны, и соответственно общему для всех отношению к жизни также и государственно-правящая “элита” Запада в подавляющем большинстве случаев считала себя свободной от необходимости вникать в рассмотрение существа и последствий принятия тех или иных решений, основанных на применении технологий, ставших традиционными, а тем более технико-технологических нововведений[151], полагая всё это “не царским делом”, а «частными делами их подданных», в которые им вникать унизительно и скучно; либо же «частным делом» своих должников, что свойственно для МЕЖДУнародной ростовщической ветхозаветно-талмудической “аристократии”, правящей посредством[152] финансовой удавки обществами и государствами на основе узурпации кредита и счетоводства, составляющих суть банковского дела.

С крушением сословно-кастового строя на Западе психология невмешательства государства и ростовщической банковской мафии в частную жизнь и частнопредпринимательскую деятельность сохранилась точно также, как сохранилась и психология невмешательства в дела государственности простого обывателя, полагающего, что все свои обязательства по отношению к обществу в целом и его государственности, в частности, он исполнил заплатив налоги и приняв участие в формально демократических процедурах, существующих на Западе, как и всё прочее в рабском ошейнике ссудного процента, подвластного только международной корпорации кланов ростовщиков.

Но если до самоопьяняющего торжества буржуазно-демократических революций такого рода психология господствовала молчаливо, то за время развития западного капитализма она нашла свое теоретическое выражение: в наиболее общем виде — в философии индивидуализма, а в более узком прагматическом варианте — в разного рода экономических псевдотеориях о свободе частного предпринимательства, свободе торговли и якобы способности “свободного” рынка[153] регулировать в жизни общества всё и вся без какого-либо целеполагания и управления со стороны думающих людей.

Но все теории без исключения — только выражение строя психики и соответствующей ему нравственности. В зависимости от нравственности и строя психики, на основе одних и тех же фактов, разум человека способен развернуть взаимно исключающие одна другие теории и доктрины.

Буржуазно-демократические революции и последующее общественное устройство жизни западных обществ психологически были обусловлены разумом, активным в носителях господствовавшего на Западе животного строя психики. И соответственно по­рожденные животным строем психики буржуазно-демокра­ти­чес­кие революции изменили общественное устройство так, что при новой системе внутриобщественных отношений в условиях технико-технологического прогресса обрел поле деятельности и активизировался разум множества индивидов, перед которыми открылась возможность доступа к информации, ранее закрытой сословно-клановыми границами, предопределявшими как профессию и социальное положение, так и прежде неизменные в течение всей жизни человека информационные потоки, в которых он жил. Но новая система внутриобщественных отношений, возникшая в результате буржуазно-демокра­ти­чес­ких революций, вовсе не изменила прежде господствовавшего на Западе нечеловечного строя психики (численно преобладают животный и зомби).

И именно его носители после информационного взрыва ХХ века являются в нынешнем обществе, где господствует ориентация поведения на потребительство сейчас и впредь ради ублажения чувственности и самомнения, в результате чего многие становятся жертвами “стрессов” и их последствий. Но информационный взрыв открыл для них и возможность избавления от вызванной им же лавины “стрессов”.

Эта возможность состоит объективно в том, что жизнь всего общества технически развитых стран протекает и на работе, и в домашнем быту в потоках “царской информации”, обладающей значимостью:

· провинциальной — в пределах государства;

· общегосударственной — в пределах региональной цивилизации;

· для отдельной региональной цивилизации — среди их множества;

· для множества региональных цивилизаций и доцивилизационных первобытных культур[154], в совокупности образующих нынешнее человечество Земли.

Прежде эта “царская информация” проходила мимо подавляющего большинства населения, оказывая влияние на их жизнь преимущественно косвенно (опосредованно), но мало кто вразумлялся столкнувшись с нею непосредственно.

Психика каждого, кому дано Свыше быть Человеком Разумным, организована иерархически многоуровнево. И уровень сознания большинства, на котором скорость обработки информации составляет 15 бит[155] в секунду, и где человек в состоянии управиться максимум с 7 —  9 объектами одновременно, — только видимая “надводная часть айсберга” индивидуальной психики в целом. По отношению к сокрытой части психики — бессознательному (иначе говоря подсознательному) — в культуре человечества сложилось два активных подхода:

· расширение сознания и включение в него тех уровней психики, которые ранее находились вне его;

· перестройка структуры сознательного и бессознательных уровней психики на основе диалога (информационного обмена) между уровнями с целью ликвидации разного рода антагонизмов между ними и выработки таким путем стиля их согласованной работы в целостной индивидуальной психике, в процессе гармонизации отношений индивида с объемлющей и проникающей в него Объективной реальностью.

Если подыскивать техническую аналогию отношениям осознаваемого «я» с прочими уровнями в психике, то сознание, вместе со свойственными ему возможностями, можно уподобить пилоту, а всё бессознательное (подсознательное) — автопилоту. В такой аналогии первый подход эквивалентен (во многом) тому, что пилот, будучи изначально неумехой, постепенно берет на себя исполнение всё большего количества функций, заложенных в автопилот; второй подход эквивалентен (во многом) тому, что пилот осваивает навыки настройки автопилота и заботится о взаимно дополняющей разграниченности того, что он берет на себя, и того, что он возлагает на автопилот.

Может встать вопрос, в каком соотношении находятся оба подхода. На него могут быть даны разные ответы, обусловленные нравственностью, мировоззрением и личным опытом каждого из отвечающих. На наш взгляд второй подход — перестройка сознательных и бессознательных уровней психики — включает в себя и первый, поскольку при настройке “автопилота” “пилоту” невозможно не получить представления о его функциональных возможностях и управлении ими. Но второй подход, включая в себя и первый подход (расширение сознания), придает ему особое качество с самого начала, в то время как следование первому подходу при игнорировании (либо отрицании второго) рано или поздно приводит к тому, что включенные в область сознательного возможности необходимо привести в согласие между собой; а кроме того — и в лад с тем, что индивидуальное сознание еще не освоило в процессе его расширения в Объективной реальности; если первый подход не приводит к осознанию такого рода необходимости, то следование путем расширения сознания завершается личностной катастрофой, вызванной, если и не внутренней конфликтностью индивидуальной психики, то конфликтностью индивидуальной и коллективной психики или же конфликтностью психики индивида с разного рода иерархически высшей нечеловеческой психикой, деятельность которой однако проявляется в Мироздании, если быть внимательным к происходящему.

Первый подход в традиционной культуре человечества выражают разного рода духовные практики Востока (йоги) и западных систем посвящения в разнообразный оккультизм; на возможность осуществления второго подхода прямо указано в Коране, хотя он и не развит в исторически реальном исламе, иначе регион коранической культуры не был бы внутренне разобщенным и не испытывал бы множества внутренних и внешних проблем.

Это необходимо было сказать, поскольку с “царской информацией” (если соотноситься с нормами адресации информации в сословно-кастовом строе) в современных условиях сталкиваются практически все. Возможности в переработке информации уровнями психики, относимыми к бессознательному для подавляющего большинства людей, намного превосходят возможности их индивидуального сознания (ранее упомянутые неоднократно 15 бит/сек., 7 — 9 объектов одновременно). И это означает, что вне зависимости от сознательного отношения к “царской информации” со стороны индивида, его бессознательные уровни индивидуальной психики[156] обрабатывают и “царскую информацию”. Соответственно результаты этой обработки некоторым образом встают перед сознанием индивида либо на отдыхе, либо в жизненных ситуациях.

Всё дальнейшее определяется тем, как сознание индивида относится к такого рода прорывам результатов обработки “царской информации” с бессознательных уровней психики на уровень сознания. “Стрессы” и их последствия, жертвой которых в технически передовых обществах становятся непреклонные участники гонки потребления, перемалывающие информацию, необходимую для поддержания профессионализма и обусловленного им потребительского (прежде всего) статуса, — результат умышленного или бездумного отказа их индивидуального сознания принять результаты бессознательной обработки “царской информации” в качестве фактора направляющего, а также и сдерживающего их индивидуальную частную деятельность.

Если же результаты бессознательной обработки “царской информации” принимаются сознанием, то начинается согласовывание частной индивидуальной сознательной и бессознательной деятельности с этими результатами, довлеющими надо всем обществом, поскольку именно по этому признаку — довления надо всеми — “царская информация” отличается от частной, лично-бытовой.

 Когда принятие результатов бессознательной обработки “царской информации” хотя и протекает на уровне сознания, но протекает бездумно, то согласование деятельности сознательного и бессознательного уровней индивидуальной психики в общем-то происходит, однако без расширения сознания. Когда принятие результатов бессознательной обработки “царской информации” сопровождается обдумыванием на уровне сознания происходящего и намерений на будущее, то происходит не только согласование сознательного и бессознательного уровней психики, но возможности сознания расширяются и оттачиваются. Причем в последнем случае расширение сознания происходит во внутреннем согласии при своевременном устранении конфликтности между уровнями индивидуальной психики и между индивидуальной и коллективной психикой.

Этому процессу может помочь определенная дисциплина обращения с информацией на уровне сознания, не противоречащая функциональным возможностям сознания подавляющего большинства людей, которые еще не успели расширить свое сознание настолько, что уже не знают, что и как им после этого делать.

Поскольку человеческое сознание может одновременно оперировать с семью — девятью объектами, то дисциплина осознанного обращения с информацией на уровне сознания с его весьма ограниченными (вне трансовых состояний[157]) возможностями прежде всего должна обеспечивать распределение всякого информационного потока, информационного массива не более чем по семи — девяти разграниченным между собой категориям, иначе не удастся однозначно переадресовать её более производительным бессознательным уровням психики. Так как всякий процесс в Объективной реальности может быть интерпретирован (представлен, изображен) как процесс управления или самоуправления, а “настройка автопилота” бессознательных уровней психики и вхождение индивидуальной психики в коллективную — это повседневные задачи практики управления — самообладания человека, то Достаточно общую теорию управления, которой в настоящей работе уделено особе место, лучше всего обратить на себя лично и войти в процесс управления собой и порождаемыми вокруг себя обстоятельствами памятуя о глобальном уровне заботы и ответственности перед другими людьми и Богом.

По завершении переходного процесса нынешней глобальной цивилизации Землю наследует Человечность, и на ней не будет места проявлению в человеческом образе нечеловечных строев психики: животного, биоробота-зомби, демонических личностей. И каждому пока дано время и возможности выбрать и осуществить свою дальнейшую судьбу.

Это означает, что все носители этих нечеловеческих типов строя психики поставлены перед выбором: либо они изменят строй психики, переосмыслив свое бытие и намерения на будущее, либо они погибнут потому, что прежний строй психики сделает их жертвами объектов техносферы или стрессов, а также и обусловленных ими болезней.

Это качественно отличает условия жизни в нынешней цивилизации от условий жизни в предшествовавшей глобальной цивилизации, в которой количественно и властно возобладал демонический тип личностей. В ней «раса господ», освоивших некую магию, безответно управляла через экстрасенсорику психической деятельностью «говорящих орудий». Последние, не обладая парапсихологическими способностями, не имели возможности оказать какое-либо ответное воздействие на «расу господ», какими бы неприятностями она не обременяла жизнь простонародья с неразвитой экстрасенсорикой, не владевшего культурой магии, а кроме того возможно и злоумышленно искалеченного генетически.

Сегодня претенденты в «расу господ», также как и прочие обитатели Земли являются заложниками техносферы, создаваемой и управляемой во многом теми, кто безответственен и беззаботен, вследствие животного строя психики или строя психики зомби. В качестве заложников техносферы в нынешней глобальной цивилизации все равны: и возомнившие себя господами, и те, кого “господа” пытаются поработить.

В таких условиях единственная возможность избежать гибели в очередном «Чернобыле» для претендентов в «сверхчеловеки» — заботиться о том, чтобы “сверхчеловеками” (а по существу нормальными, состоявшимися людьми) были все без исключения.

В противном случае и “недочеловеки”, и “сверхчеловеки” могут погибнуть, даже не в результате самоубийственного умысла какого-нибудь отягощенного “стрессом” оператора АЭС или химкомбината, а в результате порождения индивидами с нечеловеческой психикой коллективной психики типа «лавина ошибок». Так в технико-технологическом мире на реально правящую “элиту” и их хозяев, осуществляющих цивилизаторскую миссию, оказались впервые в истории нынешней цивилизации замкнуты обратные связи, чего не было в жизни демонически-магической «расы господ» прошлой глобальной цивилизации, при каких условиях и могла процветать вседозволенность демонизма.

Также следует иметь в виду, что в ходе глобальной катастрофы прошлой цивилизации разрушился её духовный мир — совокупность эгрегоров[158] — через который «раса господ» на основе “эктсра­сен­со­рики” безответно властвовала над «говорящими орудиями». Техносфера в её нынешнем состоянии (теле и радиовещание, компьютерные сети и т.п.) не может заменить в этом качестве средства безраздельного контроля психики духовную культуру индивидов и порожденный ею духовный мир (эгрегоры) прошлой глобальной цивилизации. Поскольку претенденты в новую «расу господ» испытывают потребность в такого рода безраздельном контроле над психикой остального населения, то ныне мы становимся свидетелями интенсификации работ в области создания технических средств контроля над чужой психикой — с одной стороны, а с другой стороны множество индивидуалистов подталкивается средствами массовой информации к тому, чтобы они из своей души вырастили джина, т.е. осваивали разного рода парапсихологические навыки с помощью которых возможно воздействие на вещественный мир и психику окружающих, в том числе и без непосредственного контакта с ними.

Индивидуалисты не видят социальных взаимосвязей и различия концепций общественного устройства, даже обретая парапсихологические навыки. Эта их специфическая слепота открывает возможность к тому, чтобы, возбуждая абстрактный гуманизм такого рода экстрасенсов-парапсихологов, определить их для миссии вспомоществования в управлении остальным населением. 

Самочинная экстрасенсорная накачка, — своего рода духовный культуризм, который позволяет покрасоваться на фоне окружающих, но всё же вреден для здоровья как всё, что обретает значимость самоцели в жизни индивида. По мере продвижения по этому пути накачки парапсихологических возможностей самочинный индивид начинает чувствовать больше, чем в состоянии осмыслить, вследствие чего это — прямой путь в дурдом. Кроме того, накачавшись парапсихологически, он пребывая в прежнем концептуальном безразличии, начинает затрагивать то, до чего не мог дотянуться без развития своих парапсихологических способностей, в результате чего обрушивает себе же на голову то, что ранее всегда проходило мимо него. Вследствие этого концептуально безразличные экстрасенсы-самоучки[159] оказываются под гнетом стрессов, свойственных активному демонизму, а это — путь к смерти и погибели.

Иными словами поросль “экстрасенсов” ныне взращивается для осуществления миссии пастушеских овчарок при разбредающемся «стаде этих скотов». Такого рода миссия иногда обозначается в разного рода “парапсихологических” изданиях, когда в них публикуются призывы типа «все экстрасенсы в такое-то время должны медитировать на избрание Клинтона президентом США»; в России в 1991 г. аналогичное распоряжение  в отношении «медитации на избрание Ельцина» прошло в определенных кругах в устной форме. Причем “культуризм” в области парапсихологии наиболее эффектная и потому бросающаяся в глаза сторона жизни современного общества индивидуалистов, но это только частный случай более широкого явления.

Реально личностная культура восприятия мира и его осмысления у большинства складывается без осознанного выставления требований к ней и вне целеустремленной деятельности по их осуществлению в собственной повседневной психической деятельности. Вследствие этого, подавляющее большинство населения является носителями личностной психической культуры, которую А.С.Пушкин в “Евгении Онегине” охарактеризовал словами: «Мы все учились понемногу, чему-нибудь и как-нибудь...», в результате чего до старости сохранили беззаботность и жизненную неудовлетворенность капризного инфантилизма: «Богаты мы, едва из колыбели, ошибками отцов и поздним их умом, и жизнь уж нас томит, как ровный путь без цели, как пир на празднике чужом...» — продолжил характеристику той же духовности М.Ю.Лермонтов в “Думе”.

В результате множественные ошибки в свойственной обществу культуре становления личностей, накопившись, выливаются в кризис цивилизации, носительницы этой психической культуры. Это явление в большей степени поразило Западную региональную цивилизацию, скелет духовной культуры которой — многовековое целенаправленное взращивание на основе Библии калейдоскопического идиотизма населения — вяло текущей шизофрении.

В разные исторические эпохи люди, чья психика по разным причинам не была раздавлена этой антиинтеллектуальной библейской культовой и светской традицией, выходили на понимание существа духовности библейской цивилизации — психической культуры — и пытались дать обществу более или менее эффективную альтернативу библейской внутренне и внешне антагонизированной личностной психической культуре; либо дать видимость таковой альтернативы. В ХХ веке одним из таких людей был американец Л. Рон Хаббард — создатель дианетики, на основе которой возникла сайентологическая церковь. Л. Рон Хаббард выставил определённые требования к нормальной психике индивида (нормальной по его понятиям) и создал практическую процедуру, позволяющую привести к этой норме психику индивида, весьма далекую от неё при стихийном развитии личности в господствующей в нынешнем обществе информационной среде; конечно, если индивид проявляет некоторую заинтересованность в такого рода своем психическом переустройстве. Дианетика получила распространение во многих странах, поскольку реально — по их субъективным впечатлениям — многие, прошедшие её курс, обрели после этого душевное спокойствие, жизненную удовлетворенность и избавились от нервотрепки постоянных стрессов.

Вопросы о том, в чем прав Л. Рон Хаббард и его верные последователи; в чем они ошиблись; к осуществлению каких конкретно целей постарались приспособить их реальные достижения заправилы Запада и т.п., мы в этой работе большей частью оставим в стороне.

И дело не в том, является ли сайентологическая церковь «тоталитарной сектой»[160] или же не является. Дело в том, что, если кто-то (например С.В.Кириенко) действительно посещал семинары по дианетике, то он является — хотя бы отчасти — носителем целенаправленно построенной личностной психической культуры, возможности которой во многом превосходят возможности личностной психической культуры типа «мы все учились понемногу чему-нибудь и как-нибудь...», носителями которой являются большинство населения, в том числе и большинство депутатов, журналистов и госчиновников.

Если искать аналогии, которые позволяют увидеть разницу между обоими типами культуры, то, поскольку информационные процессы объективно свойственны одинаково и природной среде, и антропогенной среде, наиболее выразительную аналогию можно найти в программно-компьютерном мире. Операционная система MS?DOS фирмы Microsoft как сложилась, так и сложилась, изначально будучи произведением стихийного дилетантизма, в процессе её создания обретавшего профессионализм; к Windows при её создании изначально предъявлялись профессионально определенные требования, в чем конкретно и какими именно средствами она должна превосходить MS?DOS. Оба варианта операционной системы позволяют управлять работой компьютера и решением на нем прикладных задач, но качество этого «позволения» и удобство его практического осуществления — разное: всё говорит в пользу Windows. Хотя и ей во всех её модификациях присущи многие ошибки и порочность некоторых решений, но её недостатки всё же иного качества, чем недостатки MS?DOS, с позиций которой о них говорить просто невозможно.

Нечто подобное имеет место и при сравнении возможностей носителя стихийно сложившейся личностной психической культуры (стихийного психического “бес­куль­турья”) и носителя целенаправленно созданной психической культуры. При этом в контексте настоящей работы слова «стихийно сложившаяся личностная психическая культура», «стихийно сложившаяся духовность» не означают естественной для человека личностной психической культуры, духовности. В цивилизации, в которой на протяжении нескольких тысяч лет рабовладение только изменяло способы подневоливания других людей, оставаясь рабовладением по существу, невозможно говорить, что в результате самопроизвольного развития личностей в культуре этого общества, вырастая, личности сами собой обретают естественную для человека духовность — личностную культуру психической деятельности. Некоторые действительно обретают, но они — исключение из общего правила, предопределяющего извращение господствующей культурой психики в целом и интеллекта, в частности, за то время пока человек проходит путь от младенчества до взрослости. Также и слова «целенаправленно созданная личностная психическая культура» не означают в общем случае искусственно искалеченной естественной для человека духовности, личностной психической культуры. Причины те же: в обществе, где не обеспечивается формирование естественной духовности человека, целенаправленный отход от господствующей духовности может иметь направленность как в сторону естественной для человека духовности, так и в сторону дальнейшего извращения естественной для человека личностной психической культуры.

Принципиальное отличие стихийно сложившейся организации психики человека от целенаправленно созданной организации психики состоит в том, что в стихийно сложившейся психике велика доля неупорядоченной информации, на основе которой индивид строит свое поведение. Под неупорядоченностью информации в психике имеется в виду то, что информация не распределена по категориям «ложно», «истинно», «степень достоверности неизвестна». В результате объективно недостоверная информация, наряду с достоверной, лежит в основе информационного обеспечения поведения индивида. Кроме того нет и различий между инстинктивно обусловленными автоматизмами поведения, социально обусловленными автоматизмами поведения (обычаями, привычками), интуитивными озарениями и поведением на основе рассудочной деятельности, что ведет к ошибочности поведения, когда инстинктивные и социальные автоматизмы поведения, отрабатываемые бездумно и безвольно в ситуациях-раздражителях злоумышленно активизируются извне, либо ситуация объективно требует более гибкого поведения, чем это обеспечивают бездумно отрабатываемые инстинктивные и социальные автоматизмы.

Целенаправленно созданные культуры личностной психической деятельности так или иначе уделяют внимание этой проблематике и разрабатывают духовные практики, индивидуальные, диалоговые, коллективные для того, чтобы отойти от стихийно сложившейся организации психики к нормальной организации с точки зрения каждой из них. В зависимости от того, насколько им удается устранить ошибки и порочность, свойственные стихийному формированию психики индивида в господствующей культуре общества, их носители — в большинстве своем — обретают те или иные преимущества перед остальной частью общества со стихийно сложившейся организацией психики. Но это следует понимать в статистическом смысле: т.е. и среди носителей стихийно сложившейся организации психики могут быть индивиды, чья личностная психическая культура более совершенна, чем целенаправленно созданные культуры личностной психической деятельности.

Одной из множества известных в истории[161] целенаправленно созданных культур личностной психической деятельности и является дианетика и сайентология. А одна из наиболее известных структур, которая “окучивает” разнородный духовный культуризм индивидуалистов — сайентологическая церковь[162], порождающая биороботов с возможностями превосходящими в их большинстве возможности носителей стихийно сложившейся организации личностной психической деятельности для обслуживания все той же цивилизаторской миссии возрождения Атлантиды. Это касается деятельности дианетиков прежде всего в сфере управления.

“Советская Россия” от 14.04.1998 со ссылкой на журнал “Шпигель” и “Немецкую волну” в статье “Прошел «промывку мозгов» у сайентологов”  (о С.В.Кириенко) пишет:

«Сайентологи пользуются в России следующей уловкой: они предлагают россиянам, падким на всё западное, свое учение как технологию менеджмента. Такой семинар по повышению квалификации, своего рода «промывку мозгов», прошел молодой Кириенко в Нижнем Новгороде. В официальном отчете за 1995 год банка «Гарантия», который возглавлял Кириенко, указывалось, что такие семинары способствовали повышению уровня знаний в области современных ТЕОРИЙ УПРАВЛЕНИЯ (выделено нами при цитировании). Новые, но столь привычные для бывшего комсомольского вожака идеалы, которые проповедовали сайентологи, а именно: групповая порука и замкнутость по отношению к окружающему миру[163], — явно понравились Кириенко. Он направил на семинары в центр сайентологов всё правление своего банка.»

Конечно, у многих читателей этого фрагмента неприятие вызывает групповая порука и замкнутость сайентологов от посторонних. Но наиболее общественно значимое в цитированном сообщении то, что ныне на Западе[164] сайентологическая церковь является единственной общественной организацией,которая целенаправленно учит своих последователей ТЕОРИИ УПРАВЛЕНИЯ.

То есть в глобальных масштабах ныне молчаливо осуществляется стратегия выдвижения в структуры государственной и бизнес-власти носителей целенаправленно созданной личностной психической культуры. Это по существу — стратегия, рассчитанная на длительную перспективу, по вытеснению прежней “элиты”[165] новой “элитой”.

Разница между обеими “элитами” в том, что личностная психическая культура прежней “элиты” сложилась стихийно-бесцельно “сама собой” в библейской светской и религиозно-культовой информационной среде, а новая “элита”, как предполагается заправилами Западной цивилизации, будет состоять из носителей целенаправленно созданной личностной психической культуры, ныне тиражируемой сайентологической церковью по всему миру. Прежняя “элита” не сможет противостоять этой стратегии выпаса толпы на основе дианетики и сайентологии до тех пор, пока не воспитает в себе иную личностную психическую культуру, по своим возможностям превосходящую культуру, практикуемую администрацией сайентологической церкви на основе наследия Хаббарда (дианетики) и привнесенных к нему разработок ЦРУ и ФБР в области контроля над психикой индивидов и общества в целом.

Но хозяева “элиты” более дальновидны чем сама “элита”, живущая близорукой алчностью. И они, хотя и не препятствуют иерархиям “элиты” пытаться возобновить нормальный с их точки зрения выпас народных стад, тем не менее готовят новую школу “элитарных” пастухов. Дианетика и сайентология оказались для них наиболее подходящей философской и психологической основой для становления и распространения такой новой школы пастухов. Причины этого в том, что в наследии Л. Рона Хаббарда довольно много внимания уделяется организации индивидуальной психической деятельности, но концепция организации общественной жизни множества индивидов обойдена молчанием. Это не означает, что концепции нет вообще, поскольку некая концепция всегда объективно присутствует в общественном самоуправления хотя бы по умолчанию. Умолчания в социологии в подавляющем большинстве случаев выражают сохранение того, что и так есть в обществе, поскольку на основе умолчаний хозяева социологии имеют возможность опереться на уже существующую в обществе нравствено-мировоззренческую базу. То же касается и отношения к религии: дианетика — «современная наука душевного здоровья»[166], что молчаливо предполагает самоопределение индивида в решении богословских вопросов точно также, как и вопросах социологии.

Даже, если сама сайентологическая церковь, превратившись в жесткую административную структуру, и является «тоталитарной сектой», то как подчеркивают многие выходцы из этой секты: административная структура церкви это — одно, а дианетика и сайентология, как достижение культуры, — совсем другое.

Если смотреть на это, памятуя о сочетании структурного и бесструктурного упра­вления, то не имеет значения находится ли состоявшийся сайентолог-дианетик («клир» в их терминологии: от английского «clear» — «чистый», «ясный», «понятный») в рядах церкви, или, определив лидеров церкви как «подав­ля­ющие личности» (тоже их термин, обозначающий деспотов и тиранов), он покинул ряды церкви. Главное, что строй психики у него уже не стихийно-бесцельно сложившийся, а целенаправленно взращенный, отвечающий потребностям хозяев сайентологической церкви. При этом среднестатистический дианетик по своим возможностям восприятия и осмысления информации превосходит среднестатистического толпаря со стихийно сложившейся организацией психики.

Это означает, что множество состоявшихся дианетиков, в обстановке, в которой стихийно сложившаяся организация психики представителей прежней “элиты” в большинстве своем дает сбои, сохраняют способность к более адекватной реакции на обстановку, что и отдает в их руки миссию выпаса всей толпы. Если допустить каламбур, то заправилы Запада не прочь заместить исторически исчерпавший себя клерикализм библейских вероучительных и светских иерархий на клирикализм сайентологии; цели — установление глобальной безраздельной власти — при этом остаются прежними; меняется только главенствующая церковь — системная периферия распространения и осуществления власти. Т.е. дианетика и сайентология призваны заместить в качестве господствующих библейские культы и марксизм при сохранении существа толпо-“элитарной” концепции общественных отношений.

При этом осуществляется глобальный переход от управления идеологиями к управлению психической подоплекой идеологий. К пониманию этого специфического существа происходящего прежняя “элита” Запада и России оказались неготовы.

Поэтому деятельность сайентологической церкви, обладающая стратегической значимостью в глобальных масштабах, вызывает у правящей на Западе исторически сложившейся прежней “элиты” с бесцельно стихийно сложившейся организацией психики определённое неприятие, поскольку пасомая толпа уходит под власть другой бригады пастухов. Этим и вызваны большинство запретов и ограничений на деятельность сайентологов в странах Запада, причисливших сайентологов-дианетиков к лику «тотали­тар­ных сект». Но эти притеснения сайентологов прежней правящей “элитой” обречены на неудачу, поскольку представляют собой разрозненные политические ходы, не принадлежащие последовательной целенаправленной стратегии, более эффективной, чем стратегия продвижения сайентологии.

Но и “элитарным” сайентологам и прочим духовным культуристам, претендующим войти в состав новой “элиты” не следует самообольщаться. Реакция Свыше на деятельность структур, работающих на концепции, противные Высшему Промыслу, проста:

Структуре предоставляется возможность вариться в “собственном соку” без доступа к новой информации. Когда прежнее информационное обеспечение, свойственное структуре, становится несообразным изменившейся окружающей обстановке, её управление накапливает ошибку и структура погибает под гнетом ошибок, если не способна на переосмысление своего прежнего информационного обеспечения; структуры часто погибают вместе с их кадровым корпусом.

О такого рода самоуничтожении Ф.И.Тютчев писал так:

Был день, когда Господней правды молот

Громил, дробил ветхозаветный храм.

И собственным мечом своим заколот,

В нём издыхал первосвященник сам...

Таким образом, естественный отбор Свыше уничтожает и ныне носителей животного строя психики и строя психики зомби — социальную базу претендентов в «расу господ», на основе которой без ускоряющегося технико-технологического прогресса ранее было возможно “социалистическое общество” по Марксу-Троцкому, либо открытое общество по Соросу, хотя бы в отдельно взятой стране. Причем в этом естественном отборе индивиды погибают в репродуктивном возрасте. В этих обстоятельствах, формирующих новое информационное состояние общества в целом, выживают и дают потомство только думающие, в том числе и о воспитании детей так, чтобы они выросли людьми, а не человекообразными цивилизованными животными и биороботами. Те же процессы принуждают и думающую часть “элиты” очеловечиться, т.е. деэлитаризоваться — отказаться от “элитарных”, тем более расовых амбиций.

Активизация же интеллекта в подавляющем большинстве случаев не может быть ограничена узкопрофессиональной областью[167], не только потому, что средства массовой информации (от которых в нашем мире укрыться практически невозможно[168]) обрушивают на всех потоки самой разнообразной информации, но и потому, что все отрасли профессиональной деятельности ныне информационно  перевязаны. Вследствие этого, чтобы не быть цивилизованной обезьяной, выдрессированной профессионально нажимать множество кнопок дома и на работе, профессионалу во всякой области необходимо вникать как в проблематику смежных областей деятельности, так и в их взаимосвязи в жизни общества.

Это неизбежно статистически предопределенно исподволь делает думающего узкого профессионала социологом, в сфере компетенции и ответственности которого лежит вся Земля. Вопрос только в том, спустя какое время после того как, уже бессознательно вникнув в социологию, в том числе и глобальную, он осознанно заявит о себе как о социологе, приверженном в повседневности определённой концепции общественного устройства из их множества в плюрализме недостоверных мнений в открытом или закрытом обществе. А избранию определенной концепции неизбежно сопутствует процесс целенаправленной организации своей, прежде всего, личностной психической культуры так, чтобы она поддерживала избранную концепцию.

При этом неизбежно перед теми, кто не хочет сгинуть в этом процессе социальной гигиены, встанет вопрос о том, какая именно информация в культуре общества и в психике каждого из них злоумышленная ложь, какая следствие незлоумышленных заблуждений; что в их психической деятельности — выражение врожденных инстинктов и безусловных рефлексов; что — выражение следования общественным традициям и обычаям; что — порождение их собственной осознанной рассудочной деятельности; что — пришло из интуиции; что в интуиции — плод их индивидуального бессознательного, что — следствие наваждений извне и одержимости, что — выражение непосредственного водительства Свыше; что — собственные демонические наклонности к подавлению свободного развития окружающих. Ответы на эти вопросы и волевые действия, направленные на себя, и выражающие следование смыслу избранных в качестве истинных ответов — есть переход от стихийно сложившейся культуры психической деятельности к целенаправленно созданной. В этом множественном процессе будет складываться наилучшая для каждого из множества людей целенаправленно создаваемая личностная духовность, т.е. естественная для человека духовность, изначально предопределённая для Человечности Свыше. Это означает, что даже, если хозяевам сайентологической церкви и прочих школ духовного культуризма в индивидуализме и удастся распространить достаточный по численности тираж «пастухов новой школы», то пасти им — кроме самих себя и своих хозяев — будет некого, а демонические поползновения будут решительно и эффективно пресечены победившей Человечностью.

Но думать свойственно и демонизму, и человечности. Демонизму, в отличие от человечности, свойственно принудительно выстраивать иерархии отношений индивидов; а каждому из индивидов с демоническим строем психики свойственно стремиться поднять свой иерархический статус; отстоять достигнутое положение от посягательств конкурентов; опустить вокруг себя многих, для того чтобы самому подняться над ними.

Пробудившийся Разум даже, если индивид очнулся от своего прежнего животного или зомби состояния психики в демоническом типе психики, обречен выйти на вопрос о том, привлекает ли его эта война на уничтожение всех демонов против всех демонов, как способ существования, либо ему есть альтернатива, полная ладной жизни.

Поскольку альтернатива есть, как о том сообщают Откровения, данные через Моисея, Христа, Иисуса, то миновать рассмотрения этой альтернативы демонизму во всей проблематике социологии уже невозможно. И на этом этапе естественный отбор будет уничтожать демонизм в войне демонических личностей против всех демонических личностей: как физически, в ходе их разборок между собой, так и за счет непрерывного усугубляющегося “стрессового” состояния участников войны всех демонов против всех. Матрица возможного течения глобального исторического процесса в нынешней цивилизации предопределённо Свыше построена так, чтобы человечество изжило животный строй психики, строй психики робота, а также всевозможные демонические наклонности, направленные на угнетение других с целью паразитирования на их жизни.

Март — апрель 1998 г.

Более 800 000 книг и аудиокниг! 📚

Получи 2 месяца Литрес Подписки в подарок и наслаждайся неограниченным чтением

ПОЛУЧИТЬ ПОДАРОК